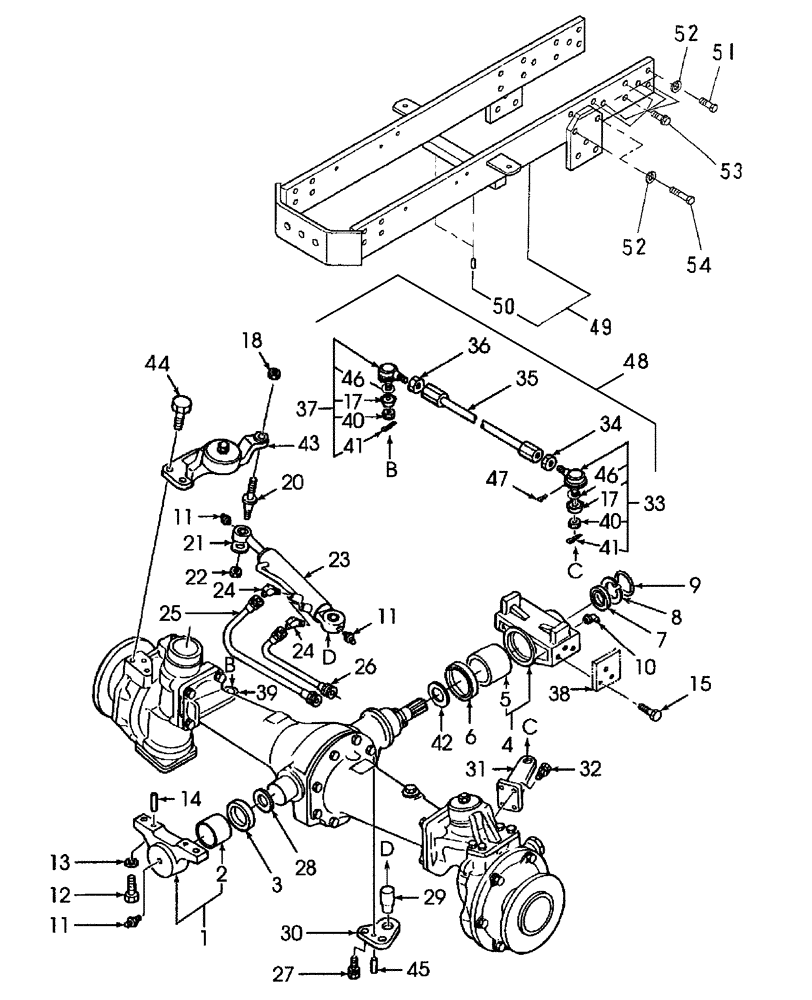
Запчасти Case IH DX55 (04.02) - FRONT AXLE & STEERING W/FWD (04) - FRONT AXLE & STEERING

Схема запчастей Case IH DX55 - (04.02) - FRONT AXLE & STEERING W/FWD (04) - FRONT AXLE & STEERING
25
28
7
31
42
14
39
13
54
46
35
48
11
3
53
38
11
18
24
12
47
17
21
23
36
50
30
45
26
37
6
11
4
2
20
41
15
44
33
17
49
43
52
40
32
10
46
22
27
51
8
41
5
52
29
9
24
34
40
1
FIT
1:1
100%

Артикул

Название

Примечание

Количество

1

SBA322018010

CASING

1шт.

2

SBA398510990

BUSHING

1шт.

3

SBA050309056

SEAL

Oil

1шт.

4

SBA322018000

CASING

1шт.

4

SBA322018100

CASING

1шт.

USED ON & ABOVE PIN # HDG600449

1шт.

5

SBA398510190

BUSHING

1шт.

6

SBA050309064

SEAL

Oil

1шт.

USED BELOW PIN # HDG600449

1шт.

7

SBA050202230

SEAL

Oil

1шт.

USED BELOW PIN # HDG600449

1шт.

8

SBA036500045

SNAP RING

1шт.

USED BELOW PIN # HDG600449

1шт.

9

SBA052300450

O-RING

1шт.

10

80717

LUBE NIPPLE,45 Degree, 1/8" NPT x 7/8" lg

1шт.

11

SBA060620000

LUBE NIPPLE

3шт.

12

385922

BOLT,Hex, M16 x 2 x 45mm, Cl 8.8

2шт.

13

86729275

LOCK WASHER,5/8 0.634 CST ZND

3шт.

14

SBA030501025

BALL STUD,M10 x 25 L

BALL PIN

1шт.

15

SBA010109305

BOLT

6шт.

17

SBA334810050

CUP

Dust Cover

2шт.

18

SBA022500020

NUT

1шт.

20

SBA399612081

PIN

1шт.

21

SBA399210710

WASHER

1шт.

22

SBA022409003

NUT,U, M16 x 1.5, Cl 8

1шт.

23

SBA344953140

STEERING CYLINDER

Hydraulic Refer to Fig. 04.01.01 for components

1шт.

23

SBA344953141R

REMAN-HYD CYLINDER

DX55 EHSS COMPACT TRACTOR, SN CX10004-CX10083, HDG600084-Z6NFC1001 & ABOVE, Hydraulic (10/03-), Reman for New PN SBA344953140

1шт.

23

SBA344953141C

CORE-HYD CYLINDER

Return Number

1шт.

24

SBA340670290

ADAPTER

2шт.

25

SBA340690050

FLEXIBLE HOSE

Oil

1шт.

26

SBA340690160

HOSE

Oil

1шт.

27

SBA011511230

BOLT,M12 x 30

2шт.

28

SBA399261580

THRUST WASHER

1шт.

29

SBA399612110

PIN

1шт.

30

SBA334660690

PLATE

1шт.

31

SBA334600630

STEERING KNUCKLE

Arm, L.H.

1шт.

When Replacing With SBA334600631 you must also replace RH SBA334600650 with SBA334600651

1шт.

31

SBA334600631

STEERING KNUCKLE

Arm. L.H.

1шт.

USED ON & ABOVE PIN # HDG600106

1шт.

32

SBA011511235

BOLT,M12 x 35

12шт.

33

SBA334800600

TIE-ROD

End, L.H.

1шт.

33

SBA334800601

TIE-ROD

TIE ROD End, L.H.

1шт.

USED ON & ABOVE PIN # HDG600268

1шт.

34

SBA020109042

NUT

1шт.

35

SBA334704240

LINK

1шт.

35

SBA334704241

LINK

1шт.

USED ON & ABOVE PIN # HDG600007

1шт.

36

320771

NUT,Thin, M20 x 1.5, Cl 04

Jam, CL 8, M20 x 1.5

1шт.

37

SBA334800610

TIE-ROD

End, R.H.

1шт.

37

SBA334800611

TIE-ROD

TIE ROD End, R.H.

1шт.

USED ON & ABOVE PIN # HDG600268

1шт.

38

SBA330012130

SUPPORT

Axle

1шт.

39

SBA334600650

STEERING KNUCKLE

Arm, R.H.

1шт.

When Replacing With SBA334600651 you must also replace LH SBA334600630 with SBA334600631

1шт.

39

SBA334600651

STEERING KNUCKLE

Arm, R.H.

1шт.

USED ON & ABOVE PIN # HDG600106

1шт.

40

SBA334810060

NUT

Castle

2шт.

41

SBA030104030

COTTER PIN

2шт.

42

SBA399261600

THRUST WASHER

1шт.

43

SBA334525280

ARM

R.H.

1шт.

44

SBA010109368

BOLT

R.H.

4шт.

45

SBA030501032

PIN

1шт.

46

SBA334810203

SPRING

Band

2шт.

46

SBA036100055

SNAP RING

2шт.

USED ON & ABOVE PIN # HDG600268

1шт.

47

SBA060610000

LUBE NIPPLE,M6 x .075

2шт.

48

SBA334074010

LIFT LINK

ASSY.

1шт.

49

SBA330012130

SUPPORT

Front Axle

1шт.

49

SBA330012140

SUPPORT

FRONT AXLE

1шт.

USED ON & ABOVE PIN # HDG600483

1шт.

50

SBA030501025

BALL STUD,M10 x 25 L

BALL PIN

2шт.

51

SBA010109552

BOLT

2шт.

52

SBA027100014

SPRING

Washer

8шт.

53

SBA010109305

BOLT

12шт.

54

SBA010431465

BOLT

4шт.

Выбрано товаров: 75