Запчасти Case IH DX55 (04.04.02) - MANIFOLD DIVERTER BLOCK - SBA340016440 (04) - FRONT AXLE & STEERING

Схема запчастей Case IH DX55 - (04.04.02) - MANIFOLD DIVERTER BLOCK - SBA340016440 (04) - FRONT AXLE & STEERING
14
11
2
5
13
10
4
6
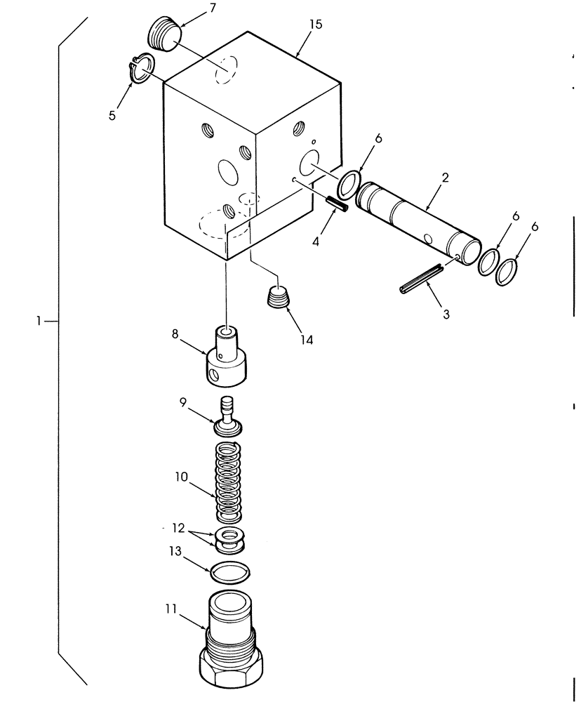
1
15
6
7
6
12
3
9
8
FIT
1:1
100%

Артикул

Название

Примечание

Количество

1

SBA340016440

VALVE

Diverter Manifold Block Includes: Ref. 2 - 23

1шт.

2

NSS

NOT SOLD SEPARAT

Spool

1шт.

3

SBA030300220

ROLL PIN

1шт.

4

SBA030300310

ROLL PIN

2шт.

5

SBA036100013

SNAP RING

1шт.

6

SBA052100100

O-RING

O-Ring, P10

3шт.

7

SBA064609007

PLUG

3/8" - 18

3шт.

8

SBA340293539

SUMP

Housing, Relief

1шт.

9

SBA340293540

HYDRAULIC VALVE

Poppet

1шт.

10

SBA340293541

SPRING

1шт.

11

SBA340293332

PLUG

1шт.

12

SBA340293230

KIT

Kit

1шт.

13

SBA052400180

O-RING

O-Ring, S18

1шт.

14

SBA064400010

PLUG

1/8"

1шт.

15

NSS

NOT SOLD SEPARAT

Body

1шт.

Выбрано товаров: 15