Запчасти Case IH DX55 (04.04.03) - MANIFOLD DIVERTER BLOCK - SBA340016550 ON & ABOVE P.I.N. HDG600165 (04) - FRONT AXLE & STEERING

Схема запчастей Case IH DX55 - (04.04.03) - MANIFOLD DIVERTER BLOCK - SBA340016550 ON & ABOVE P.I.N. HDG600165 (04) - FRONT AXLE & STEERING
10
20
8
21
11
12
6
7
17
19
7
14
16
5
13
19
9
15
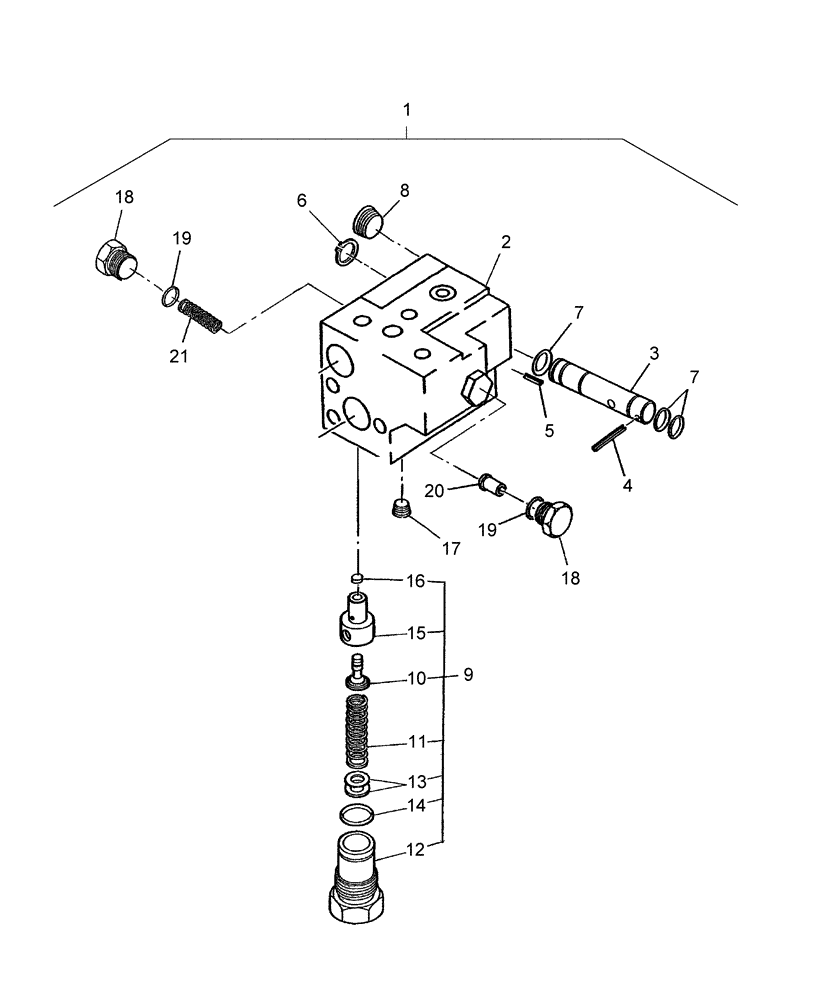
1
2
4
18
3
18
FIT
1:1
100%

Артикул

Название

Примечание

Количество

1

SBA340016550

VALVE

Diverter Manifold Block Includes: Ref. 2 - 23

1шт.

2

NSS

NOT SOLD SEPARAT

Body, Valve

1шт.

3

NSS

NOT SOLD SEPARAT

Spool

1шт.

4

SBA030300220

ROLL PIN

1шт.

5

SBA030300310

ROLL PIN

2шт.

6

SBA036100015

SNAP RING

1шт.

7

NSS

NOT SOLD SEPARAT

O-Ring

3шт.

8

SBA064409005

PLUG,3/8"-18 NPTF

3шт.

9

SBA340293786

VALVE

Relief Includes: Ref. 10 - 16

1шт.

10

SBA340293788

VALVE

Poppet

1шт.

11

NSS

NOT SOLD SEPARAT

Spring

1шт.

12

NSS

NOT SOLD SEPARAT

Plug

1шт.

13

SBA340293789

SHIM KIT

1шт.

14

NSS

NOT SOLD SEPARAT

O-Ring

1шт.

15

NSS

NOT SOLD SEPARAT

Housing

1шт.

16

SBA340293799

PLUG

1шт.

17

SBA064400010

PLUG

1/8"

1шт.

18

NSS

NOT SOLD SEPARAT

Plug

2шт.

19

NSS

NOT SOLD SEPARAT

O-Ring

2шт.

20

NSS

NOT SOLD SEPARAT

Spool, Seat

1шт.

21

NSS

NOT SOLD SEPARAT

Spring

1шт.

22

SBA340293787

SEAL KIT

Includes: 7,14,19

1шт.

Выбрано товаров: 22