Запчасти Case IH DX60 (01.10) - FUEL INJECTION PUMP & LINES (01) - ENGINE

Схема запчастей Case IH DX60 - (01.10) - FUEL INJECTION PUMP & LINES (01) - ENGINE
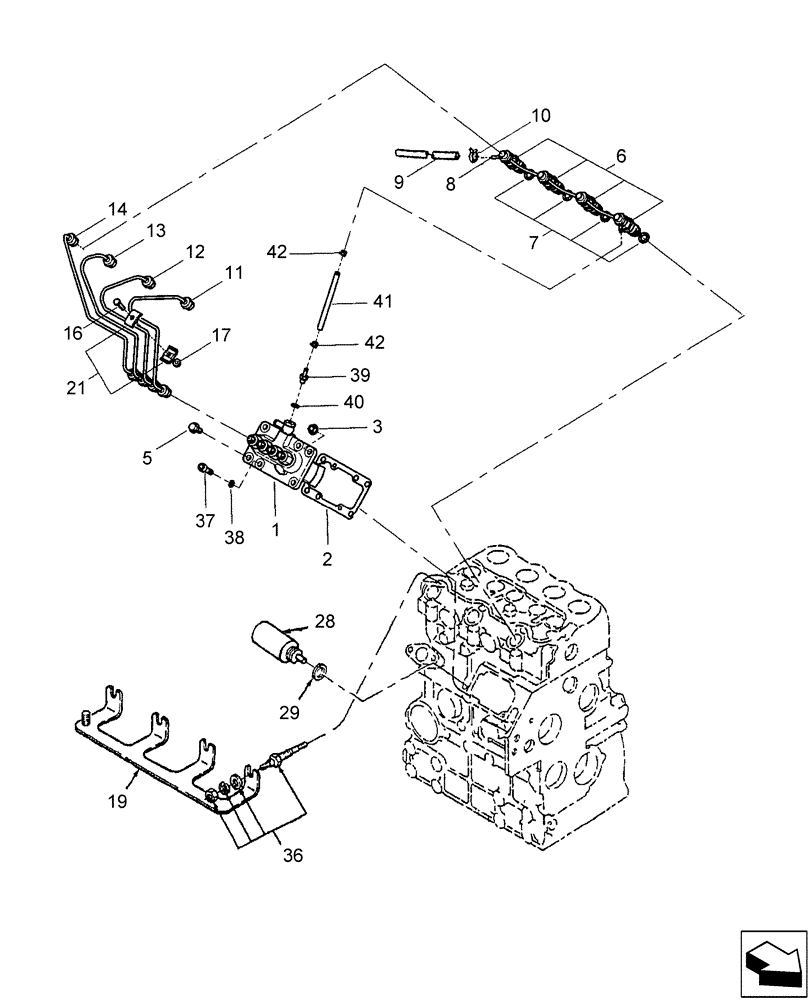
7
14
39
16
6
2
28
38
40
11
3
29
1
21
37
42
42
9
17
13
36
10
41
12
8
19
5
FIT
1:1
100%

Артикул

Название

Примечание

Количество

1

SBA131011100

FUEL INJECTION PUMP

1шт.

SBA131011100R

REMAN-FUEL INJ PUMP

DX55 PIN # Z7NFS1037 & ABOVE, DX60 PIN # Z6NFF1001 Both 4 CYL COMPACT TRACTOR W/ROPS (8/07-)

1шт.

SBA131011100C

CORE-FUEL INJ PUMP

Return Number

1шт.

2

SBA131426320

SHIM KIT

Includes: 0.2, 0.3, 0.4, & 0.5 Shims

1шт.

3

9804277

FLANGE NUT,Hex, M8 x 1.25, Cl 8

3шт.

4

SBA131426200

SEAL

1шт.

5

SBA011800820

BOLT

2шт.

6

SBA131406520

FUEL SYSTEM INJECTOR

4шт.

SBA131406520R

REMAN-INJECT NOZZLE

DX55 W/ROPS - PIN # Z7NFS1037 & ABOVE, DX60 W/ROPS - PIN # Z6NFF1001 both (2/07-)

4шт.

SBA131406520C

CORE-NOZZLE, INJECT

Return Number

1шт.

7

SBA131426200

SEAL

3шт.

8

SBA131606950

TUBE

Fuel Return

1шт.

9

SBA360770730

HOSE

Fuel

4шт.

10

SBA067200078

HOSE CLAMP

4шт.

11

SBA131507700

RIGID TUBE

Injection

1шт.

12

SBA131507710

RIGID TUBE

Injection

1шт.

13

SBA131507720

RIGID TUBE

Injection

1шт.

14

SBA131507730

RIGID TUBE

Injection

1шт.

16

86977786

BOLT,Hex, M6 x 1 x 25mm, Cl 8.8

3шт.

17

9804276

FLANGE NUT,Hex, M6 x 1, Cl 8

3шт.

19

SBA185376150

BRACKET

1шт.

Not Included in Long Block

1шт.

21

SBA199106020

CLAMP

Complete

6шт.

28

SBA185206083

SOLENOID

1шт.

Not Included in Long Block

1шт.

29

SBA025100016

WASHER,16.4mm ID x 27mm OD x 2mm Thk

Seal

1шт.

36

SBA185366190

GLOW PLUG

4шт.

37

86512138

HEX SOC SCREW,M8 x 20mm, Cl 12.9

1шт.

38

86511315

WASHER,8.4mm ID x 16mm OD x 1.8mm Thk

1шт.

39

SBA198487920

HYD CONNECTOR

1шт.

40

SBA140996350

COPPER WASHER,8.36mm ID x 12.98mm OD x 1.02mm Thk

1шт.

41

SBA068204112

HOSE

1шт.

42

SBA067200078

HOSE CLAMP

2шт.

Выбрано товаров: 33