Запчасти Case IH DX60 (07.03.02) - EHSS SHUTTLE VALVE ASSEMBLY DETAILS (07) - HYDRAULIC SYSTEM

Схема запчастей Case IH DX60 - (07.03.02) - EHSS SHUTTLE VALVE ASSEMBLY DETAILS (07) - HYDRAULIC SYSTEM
7
17
4
3
15
11
8
10
14
9
3
6
4
5
16
14
15
12
16
6
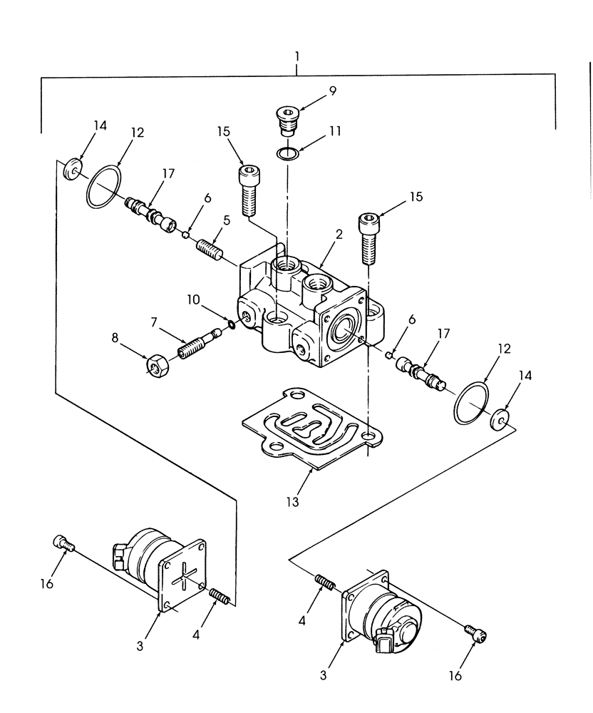
1
13
12
17
2
FIT
1:1
100%

Артикул

Название

Примечание

Количество

1

SBA340014980

HYDRAULIC VALVE

Shuttle, Includes: Ref. 2 thru 17

1шт.

2

NSS

NOT SOLD SEPARAT

Housing

1шт.

3

NSS

NOT SOLD SEPARAT

Solenoid

2шт.

4

SBA340293559

SPRING

Spring

2шт.

5

NSS

NOT SOLD SEPARAT

Spring

1шт.

6

NSS

NOT SOLD SEPARAT

Orifice

2шт.

7

NSS

NOT SOLD SEPARAT

Screw

2шт.

8

NSS

NOT SOLD SEPARAT

Nut

2шт.

9

SBA340293553

PLUG

2шт.

10

SBA340293554

O-RING

2шт.

11

SBA340293555

O-RING

2шт.

12

SBA340293556

O-RING

2шт.

13

SBA340293557

GASKET

1шт.

14

SBA340293558

DIAPHRAGM

2шт.

15

SBA340293560

BOLT

Socket Head

3шт.

16

SBA340293561

BOLT

Socket Head

8шт.

17

NSS

NOT SOLD SEPARAT

Spool

2шт.

Выбрано товаров: 17