Запчасти Case IH FARMALL 30B (10.106.04) - VALVE MECHANISM (10) - ENGINE

Схема запчастей Case IH FARMALL 30B - (10.106.04) - VALVE MECHANISM (10) - ENGINE
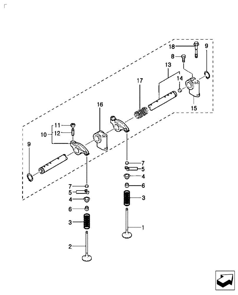
4
8
3
7
4
18
5
16
17
11
12
5
6
2
10
1
14
9
7
9
3
13
6
15
FIT
1:1
100%

Артикул

Название

Примечание

Количество

1

MT40109197

VALVE

Inlet

4шт.

2

MT40109192

VALVE

Exhaust

4шт.

3

MT40109185

SPRING

Valve

8шт.

4

MT40225217

RETAINER

Valve

8шт.

5

MT40122975

HALF-RING

Lock

16шт.

6

MT40055399

SEAL

Valve Stem

8шт.

7

MT40109184

CAP

Valve

8шт.

8

MT40225106

BOLT

1шт.

9

MT40225184

SNAP RING

2шт.

10

MT40222432

ROCKER

, Serial Range: -10

8шт.

11

MT40152704

NUT

Jam

8шт.

12

MT40225032

SCREW

Rocker

8шт.

13

MT40109188

SHAFT

Rocker

1шт.

14

MT40225135

CAP

Sealing

2шт.

15

MT40109195

BRACKET

Rocker Shaft

1шт.

16

MT40109196

BRACKET

Rocker Shaft

3шт.

17

MT40225099

SPRING

Rocker

3шт.

18

MT40225100

BOLT

Rocker Bracket

4шт.

Выбрано товаров: 18