Запчасти Case IH FARMALL 31 (07.10) - MANIFOLD DIVERTER BLOCK - SBA340016660 (07) - HYDRAULIC SYSTEM

Схема запчастей Case IH FARMALL 31 - (07.10) - MANIFOLD DIVERTER BLOCK - SBA340016660 (07) - HYDRAULIC SYSTEM
8
7
6
16
7
13
5
3
1
12
17
2
9
15
11
10
4
14
FIT
1:1
100%

Артикул

Название

Примечание

Количество

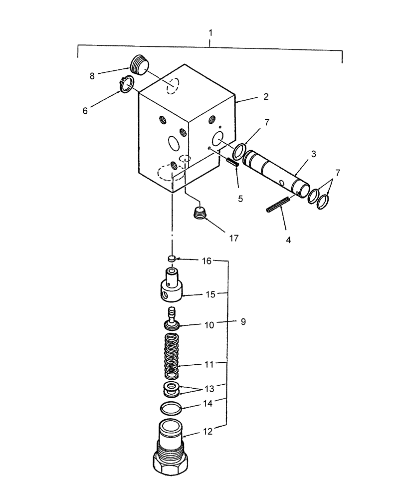
1

SBA340016660

CONTROL VALVE

Block, Manifold Diverter. Includes: Ref. 2 thru 17

1шт.

2

NSS

NOT SOLD SEPARAT

Body

1шт.

3

NSS

NOT SOLD SEPARAT

Spool

1шт.

4

SBA030300220

ROLL PIN

1шт.

5

SBA030300310

ROLL PIN

2шт.

6

SBA036100015

SNAP RING

1шт.

7

SBA052100110

O-RING,2.4mm Thk x 10.8mm ID

P10

3шт.

8

SBA064409005

PLUG,3/8"-18 NPTF

3шт.

9

SBA340293798

VALVE PRESSURE RELIE

Includes: Ref. 10-16

1шт.

10

NSS

NOT SOLD SEPARAT

Poppet

1шт.

11

NSS

NOT SOLD SEPARAT

Spring

1шт.

12

NSS

NOT SOLD SEPARAT

Plug

1шт.

13

SBA340293789

SHIM KIT

1шт.

14

SBA052400180

O-RING

S18

1шт.

15

NSS

NOT SOLD SEPARAT

Housing

1шт.

16

SBA340293799

PLUG

1шт.

17

SBA064400010

PLUG

Pipe Thread, 1/8"

1шт.

Выбрано товаров: 17