Запчасти Case IH FARMALL 31 (11.05) - FRONT WEIGHT CARRIER - 718233006 (11) - WHEELS/TRACKS

Схема запчастей Case IH FARMALL 31 - (11.05) - FRONT WEIGHT CARRIER - 718233006 (11) - WHEELS/TRACKS
2
3
4
3
5
FIT
1:1
100%

Артикул

Название

Примечание

Количество

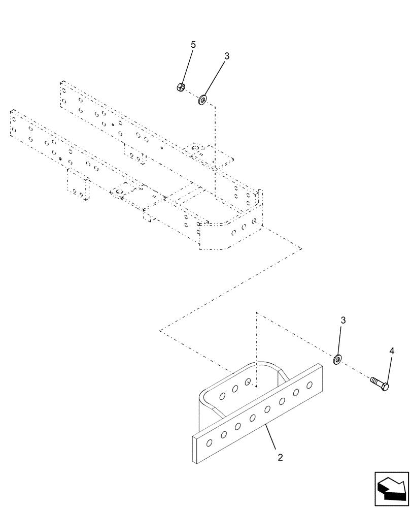
1

718233006

KIT

Front Weight Carrier (will hold up to (5) 60 lb. weights (710215046) or (5) 100 lb. weights (718215056)

1шт.

Includes: (3) 120090 Capscrew (3) 120090 Nuts (6) 394601 Washers

1шт.

2

NSS

NOT SOLD SEPARAT

BRACKET

1шт.

3

394631

WASHER,17mm ID x 34mm OD x 4mm Thk

6шт.

4

614-16050

BOLT,Hex, M16 x 2 x 50mm, Cl 8.8, Full Thd

3шт.

5

825-1416

NUT,M16, Cl 8

3шт.

Выбрано товаров: 6