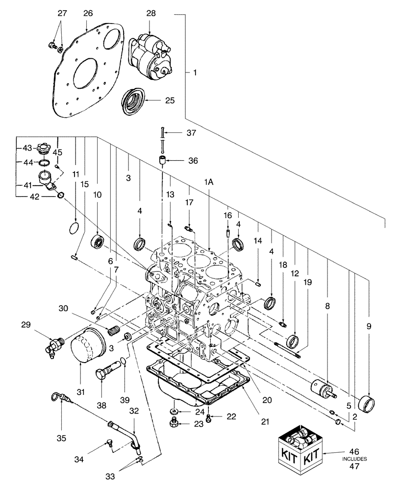
Запчасти Case IH FARMALL 31 (01.01) - CYLINDER BLOCK (01) - ENGINE

Схема запчастей Case IH FARMALL 31 - (01.01) - CYLINDER BLOCK (01) - ENGINE
11
14
5
19
28
41
9
39
30
25
17
29
38
36
47
27
34
2
18
35
21
10
4
3
32
15
7
12
45
43
33
6
46
22
4
4
42
13
37
16
1a
3
26
20
23
31
8
44
1
24
FIT
1:1
100%

Артикул

Название

Примечание

Количество

1

SBA139222

ENGINE

Long Block FARMALL 31

1шт.

1

SBA139223

ENGINE

Long Block FARMALL 35

1шт.

2

SBA064210015

CAP

015 mm

1шт.

3

SBA064210025

PLUG,25mm

1шт.

4

SBA064210040

CAP

040 mm

4шт.

5

SBA198466010

PLUG

Blank, 8.4mm

2шт.

6

SBA198466020

PLUG

Blank 10.4mm

3шт.

7

SBA198466030

PLUG

Blank, 6.5 x 7mm

3шт.

8

SBA165296260

SHAFT

Idler Gear

1шт.

9

SBA198517222

BUSHING

Standard

1шт.

Included in Long Block

1шт.

9

SBA198517226

BUSHING

U.S., .010" or 0.25 mm

1шт.

Not Included in Long Block

1шт.

9

SBA198517229

BUSHING

U.S., .020" or 0.50 mm

1шт.

Not Included in Long Block

1шт.

10

SBA040106203

BALL BEARING,17mm ID x 40mm OD x 12mm W

#6203

1шт.

11

SBA064100045

PLUG

Expansion

1шт.

12

SBA042309013

BEARING ASSY

1шт.

13

SBA030500612

DOWEL

2шт.

14

SBA030500616

DOWEL,M6 x 16

2шт.

15

SBA030501025

BALL STUD,M10 x 25 L

DOWEL, M10 x 25 L

2шт.

16

SBA030309005

PIN

Spring

2шт.

17

SBA012110820

STUD

2шт.

18

SBA012110635

STUD

1шт.

19

SBA012110660

STUD

1шт.

20

SBA110996820

GASKET

1шт.

21

SBA110707950

ENGINE OIL PAN

1шт.

22

SBA010109235

BOLT

26шт.

23

SBA010411212

DRAIN PLUG,M12 x 1.25

PLUG, DRAIN, , 17 mm Wide M12 x 1.25

1шт.

24

SBA025100012

WASHER,12.4mm ID x 19mm OD x 2mm Thk

Seal M12

1шт.

25

SBA050209083

SEAL

Oil Seal, 170mm OD 90mm ID

1шт.

26

SBA110367660

PLATE

1шт.

27

SBA011510816

BOLT

M8 x 16

10шт.

28

SBA185086551

STARTER MOTOR

FARMALL 31 Stud Bolt SBA012111030 Holds Starter on Block

1шт.

Not Included in Long Block

1шт.

28

SBA185086530

STARTER MOTOR

FARMALL 35 Stud Bolt SBA012111030 Holds Starter on Block

1шт.

Not Included in Long Block

1шт.

28

SBA185086530R

REMAN-STARTER

Farmall 31, Farmall 35 -- 11 Tooth Drive

1шт.

28

SBA185086530C

CORE-STARTER

Return Number

1шт.

28

SBA185086530GV

STARTER MOTOR

Value

1шт.

29

SBA198736270

DRAINCOCK/TAP SUPPLY

1шт.

30

SBA140546020

ADAPTER

1шт.

31

84475542

ENGINE OIL FILTER

Filter, Engine Oil

1шт.

32

SBA110756450

TUBE

FARMALL 31

1шт.

32

SBA110756490

TUBE

FARMALL 35

1шт.

33

SBA052100100

O-RING

2шт.

34

SBA011310612

CAPTIVE WASHER SCREW,Hex, M6 x 12, Cl 8.8

SCREW, CAPTIVE WASHER, Hex, M6 x 12, Cl 8.8

1шт.

35

SBA198416541

DIPSTICK

FARMALL 31

1шт.

35

SBA198416660

DIPSTICK

FARMALL 35

1шт.

36

SBA120116160

TAPPET

6шт.

37

SBA120456250

PUSH ROD,7.97"

FARMALL 31

6шт.

37

SBA120456310

PUSH ROD,8.76"

ROD, PUSH, FARMALL 35

6шт.

38

SBA140036220

VALVE PRESSURE RELIE

VALVE, PRESSURE RELIEF

1шт.

39

SBA052109078

O-RING,2.4mm Thk x 9.8mm ID

1шт.

41

SBA110466210

NECK FILLER

Filter Pipe

1шт.

42

SBA052400250

O-RING

1шт.

43

SBA198436010

FILLER CAP

1шт.

44

SBA052100400

O-RING,3.5mm Thk x 39.7mm ID, 70 Duro

1шт.

45

SBA011310620

BOLT

M6 x 20

2шт.

46

86590117

KIT

Heater Engine Coolant, Includes: 5' Cord 86539137, Cable Tie 263117 & Ref. 44

1шт.

Not Included in Long Block

1шт.

46

NSS

NOT SOLD SEPARAT

HEATER

1шт.

Not Included in Long Block

1шт.

Выбрано товаров: 63