Запчасти Case IH FARMALL 31 (01.06) - ROCKER ARM (01) - ENGINE

Схема запчастей Case IH FARMALL 31 - (01.06) - ROCKER ARM (01) - ENGINE
3
13
1
14
12
5
2
6
14
8
10
3
13
16
7
3
2
4
7
11
17
17
18
17
2
13
8
15
13
17
9
FIT
1:1
100%

Артикул

Название

Примечание

Количество

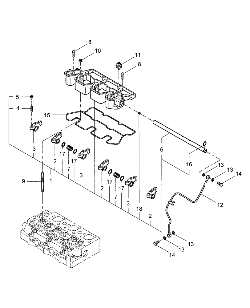
1

SBA120036930

ROCKER ARM

1шт.

2

SBA120356131

ROCKER ARM

Intake

3шт.

3

SBA120356141

ROCKER ARM

Exhaust

3шт.

4

SBA199486220

ADJUSTMENT SCREW

6шт.

5

SBA020109076

NUT

6шт.

6

SBA120316281

SHAFT

Rocker Arm

1шт.

7

SBA198217170

SPRING

2шт.

8

SBA011310635

CAPTIVE WASHER SCREW,Hex, M6 x 35, Cl 8.8

2шт.

9

SBA012109044

STUD

3шт.

10

9804277

FLANGE NUT,Hex, M8 x 1.25, Cl 8

3шт.

11

SBA185246060

SENDER UNIT

Oil Pressure

1шт.

12

SBA140606941

PIPE

Oil

1шт.

13

SBA140996260

SEAL

4шт.

14

SBA198486780

BANJO BOLT

2шт.

15

SBA120996140

GASKET

1шт.

16

SBA052109076

O-RING,2.4mm Thk x 10.8mm ID

4шт.

17

SBA199280300

SHIM,0.5mm Thk

4шт.

Выбрано товаров: 17