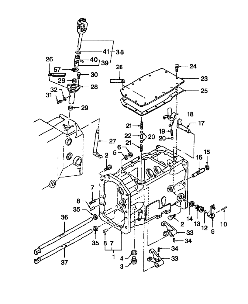
Запчасти Case IH FARMALL 31 (03.04) - FRONT TRANSMISSION CASE & SHIFTER, W/9 X 3 (03) - TRANSMISSION

Схема запчастей Case IH FARMALL 31 - (03.04) - FRONT TRANSMISSION CASE & SHIFTER, W/9 X 3 (03) - TRANSMISSION
8
35
20
4
9
40
7
18
28
39
30
7
34
35
57
27
19
2
33
13
3
22
1
41
17
29
14
34
2
5
20
8
37
31
23
38
6
16
32
36
21
12
15
26
26
10
24
25
21
29
33
FIT
1:1
100%

Артикул

Название

Примечание

Количество

1

SBA322017552

CASING

Includes: Ref. 7 & 8

1шт.

2

SBA011511030

CAPTIVE WASHER SCREW,Hex, M10 x 30, G5

13шт.

3

SBA064600016

PLUG

M16

1шт.

4

SBA025100016

WASHER,16.4mm ID x 27mm OD x 2mm Thk

Seal

1шт.

5

892-11010

LOCK WASHER,M10

1шт.

6

SBA021010010

NUT,M10 x 1.25

1шт.

7

SBA012111030

STUD,M10 x 30

1шт.

8

SBA030501025

BALL STUD,M10 x 25 L

BALL PIN Knock

2шт.

9

SBA324105980

LEVER

Change, w/FWD

1шт.

10

SBA030300636

PIN

Spring

1шт.

12

SBA052109078

O-RING,2.4mm Thk x 9.8mm ID

1шт.

13

SBA324510400

GUIDE

Shift

1шт.

14

SBA025100020

SEALING WASHER,16.4mm ID x 27mm OD x 2mm Thk

1шт.

15

SBA036800012

SNAP RING

1шт.

16

SBA324312210

ROD

Shifter, 4WD

1шт.

17

SBA324200890

ARM

Shift

1шт.

18

SBA324411680

SHIFTER FORK

4WD

1шт.

19

SBA398210280

SPRING

1шт.

20

V34014

BALL

Steel

3шт.

21

SBA398210460

SPRING

2шт.

22

SBA324560050

PIN

1шт.

23

SBA322213120

COVER

Case

1шт.

24

SBA011510820

CAPTIVE WASHER SCREW,Hex, M8 x 20, G5

14шт.

25

SBA324990241

GASKET

1шт.

26

SBA399112980

CLAMP

4шт.

27

SBA324200950

ARM

Shift

1шт.

28

SBA324010331

GUIDE

Shift

1шт.

29

SBA398510310

BUSHING

2шт.

30

SBA011510816

BOLT

M8 x 16

3шт.

31

SBA060610000

LUBE NIPPLE,M6 x .075

1шт.

32

9824259

WASHER,6.4mm ID x 12mm OD x 1.6mm Thk

1шт.

33

SBA324411580

SHIFTER FORK

2шт.

34

SBA030300636

PIN

Spring

2шт.

35

SBA050203115

SEAL,28mm ID x 40mm OD x 8mm Thk

2шт.

36

SBA324300520

SHIFT RAIL

2nd & Rev

1шт.

37

SBA324300530

SHIFT RAIL

1st & 3rd

1шт.

38

SBA324040040

CONTROL SHAFT

1шт.

39

SBA398380240

UNIVERSAL JOINT

1шт.

40

SBA399611200

PIN

2шт.

41

370001

SNAP RING,M22, External

2шт.

Выбрано товаров: 40