Запчасти Case IH FARMALL 31 (03.10) - REAR TRANSMISSION CASE & SHIFTER 9 X 3 & HST (03) - TRANSMISSION

Схема запчастей Case IH FARMALL 31 - (03.10) - REAR TRANSMISSION CASE & SHIFTER 9 X 3 & HST (03) - TRANSMISSION
31
28
32
19
27
16
10
36
26
8
9
28
38
30
23
7
33
34
22
25
4
27
26
12
2
21
3
3a
2
4
8
28
15
14
2
29
24
1
35
8
11
26
17
20
27
3b
2
37
20
6
5
14
FIT
1:1
100%

Артикул

Название

Примечание

Количество

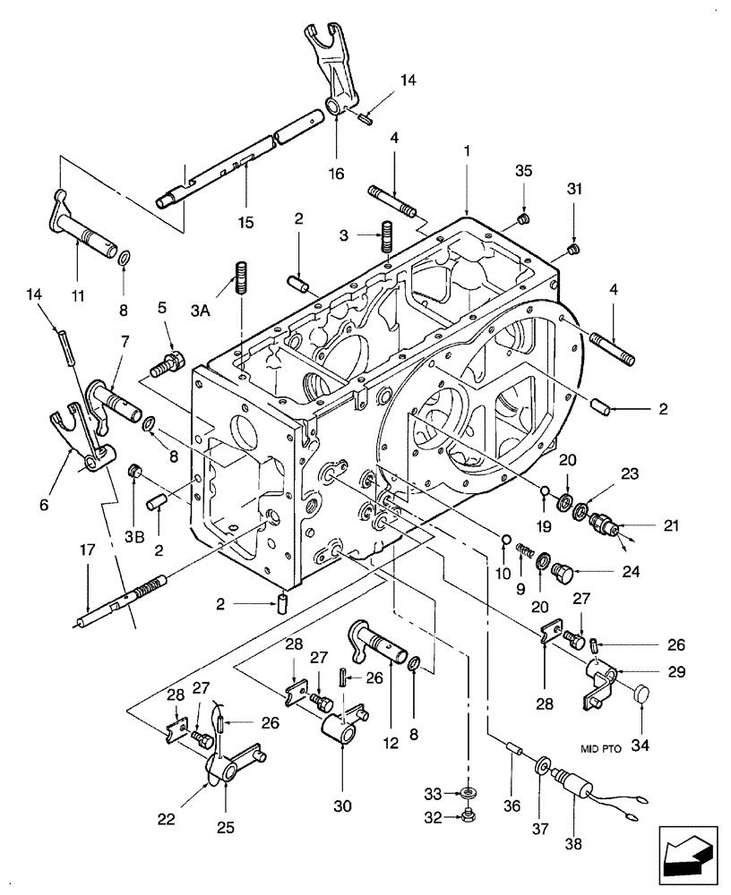
1

SBA322017961

HOUSING

Oil Heater Ready, Includes: Ref. 2 - 4

1шт.

2

SBA030501025

BALL STUD,M10 x 25 L

BALL PIN

7шт.

3

SBA012111025

BOLT

Stud, M10 x 25

5шт.

3a

SBA012111035

STUD

2шт.

3b

SBA064409009

PLUG

Used With SBA322017961 Case

1шт.

4

SBA012111080

BOLT

Stud

2шт.

5

SBA011511030

CAPTIVE WASHER SCREW,Hex, M10 x 30, G5

1шт.

6

SBA324412520

SHIFTER FORK

Range

1шт.

7

SBA324200870

ARM

Shift

1шт.

8

SBA052100140

O-RING

3шт.

9

SBA398210460

SPRING

2шт.

10

V34014

BALL

Steel, M8, 11/32"

2шт.

11

SBA324202880

ARM

Shift, PTO

1шт.

12

SBA324200940

ARM

Shift, MID, PTO

1шт.

14

SBA030300636

PIN

Spring, 6 x 36

2шт.

15

SBA324313100

ROD

Shifter

1шт.

16

SBA324412540

SHIFTER FORK

PTO

1шт.

17

SBA324313081

ROD

Shifter, w/9 X 3

1шт.

17

SBA324313091

ROD

Shifter, w/HST

1шт.

19

SBA048100011

BALL

FARMALL 31

1шт.

19

SBA048100010

BALL

FARMALL 35

1шт.

20

SBA025100014

SEALING WASHER,14.4mm ID x 21mm OD x 2mm Thk

2шт.

21

SBA385200731

SWITCH

Transmission Range Safety

1шт.

22

SBA398230020

RETAINING WIRE

1шт.

23

SBA199280290

SHIM,0.2mm Thk

1шт.

23

SBA199280300

SHIM,0.5mm Thk

1шт.

24

SBA399430740

BOLT

1шт.

25

SBA324105950

LEVER

Change

1шт.

26

SBA030300636

PIN

Spring, 6 x 36

3шт.

27

SBA011510816

BOLT

M8 x 16

3шт.

28

SBA399564790

PLATE

3шт.

29

SBA324105970

LEVER

Change, MID, PTO

1шт.

30

SBA324105960

LEVER

Change, PTO

1шт.

31

SBA398460390

PLUG,M15

1шт.

32

SBA064600016

PLUG

M16

1шт.

33

SBA025100016

WASHER,16.4mm ID x 27mm OD x 2mm Thk

Seal

1шт.

34

SBA064210018

PLUG

Seal, L/MID, PTO

1шт.

35

SBA398460010

PLUG,M19

5шт.

36

SBA324560140

PIN

Bork

1шт.

37

SBA025100014

SEALING WASHER,14.4mm ID x 21mm OD x 2mm Thk

1шт.

38

SBA385201260

SWITCH

Rear PTO Safety

1шт.

Выбрано товаров: 41