Запчасти Case IH FARMALL 31 (04.02) - STEERING LINKAGE (04) - FRONT AXLE & STEERING

Схема запчастей Case IH FARMALL 31 - (04.02) - STEERING LINKAGE (04) - FRONT AXLE & STEERING
10
4
7
2
5
11
6
9
1
12
13
7
3
4
6
9
5
13
11
10
14
14
3
12
8
8
FIT
1:1
100%

Артикул

Название

Примечание

Количество

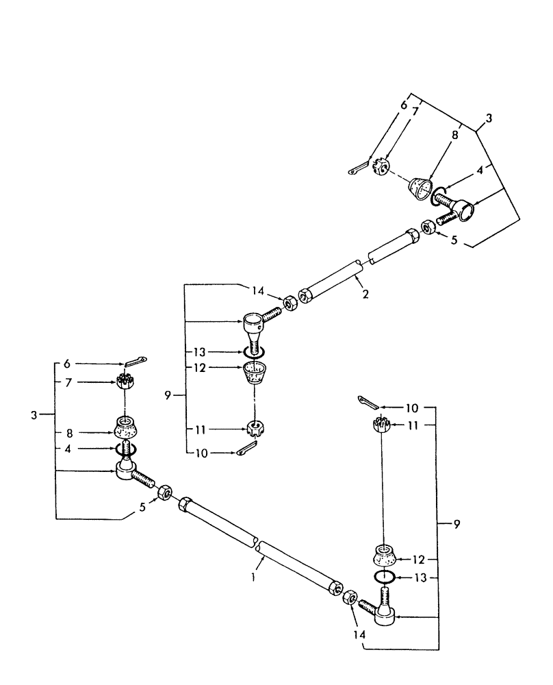
1

SBA334700010

CONNECTING LINK

1шт.

2

SBA334700060

CONNECTING LINK

1шт.

3

SBA334800710

TRACK ROD END ASSY

RH, Includes: Ref. 4 - 8

2шт.

4

SBA334810201

SPRING

2шт.

5

SBA334810100

NUT,M17 x 1.5, RH Thd

2шт.

6

SBA030103025

COTTER PIN

2шт.

7

SBA334810080

SLOTTED NUT,M12 x 1.25

2шт.

8

SBA334810010

COVER

2шт.

9

SBA334800690

BALL JOINT

Tie Rod, LH, Includes: Ref. 10 - 14

2шт.

10

SBA030103025

COTTER PIN

2шт.

11

SBA334810080

SLOTTED NUT,M12 x 1.25

2шт.

12

SBA334810010

COVER

Dust

2шт.

13

SBA334810201

SPRING

2шт.

14

SBA334810110

NUT,M17 x 1.5, LH Thd

2шт.

Выбрано товаров: 0