Запчасти Case IH FARMALL 31 (04.11) - PARKING BRAKE, 9 X 3 (04) - FRONT AXLE & STEERING

Схема запчастей Case IH FARMALL 31 - (04.11) - PARKING BRAKE, 9 X 3 (04) - FRONT AXLE & STEERING
12
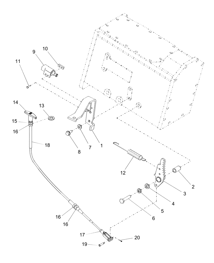
19
18
17
16
10
16
16
8
2
6
4
11
7
3
1
14
9
15
20
13
5
FIT
1:1
100%

Артикул

Название

Примечание

Количество

1

86402767

BRACKET

Spring

1шт.

2

86535806

SPACER

Bushing

1шт.

3

86403940

LOCKING TAB

Catch, Brake Lock

1шт.

4

86511323

WASHER,10.5mm ID x 20mm OD x 2mm Thk

1шт.

5

892-11010

LOCK WASHER,M10

1шт.

6

43249

BOLT,Hex, M10 x 1.5 x 50mm, Cl 10.9

1шт.

7

322358

BELLEVILLE WASHER,M8 Bolt Size x 18mm OD x 1.4mm Thk

2шт.

8

9804258

BOLT,Hex, M8 x 1.25 x 20mm, Cl 8.8

2шт.

9

86402702

PARK BRAKE SWITCH

1шт.

10

86403943

NUT

Nut

1шт.

11

412064

BOLT,Hex, M4 x 16mm, Cl 8.8, Full Thd

Cap, HH, CL 8.8, M4 x .7 x 10

2шт.

12

86530816

SPRING

Extension

1шт.

13

86512915

LOCK WASHER,Int Tooth, 7/16"

1шт.

14

84331261

KNOB

T Handle

1шт.

15

86549879

SPECIAL NUT

Special W/Seal

1шт.

16

87017

JAM NUT,Jam, 7/16"-14, G2

3шт.

17

87825

NUT,#10-32

1шт.

18

86549878

CABLE

Control, Clevis is Part of Cable NSS Includes: Ref. 13-17

1шт.

19

9672307

CLEVIS PIN,1/4" x 3/4"

1шт.

20

280236

COTTER PIN,1/16" x 1/2"

1шт.

Выбрано товаров: 20