Запчасти Case IH FARMALL 31 (07.06) - HYDRAULIC PUMP & PIPING (07) - HYDRAULIC SYSTEM

Схема запчастей Case IH FARMALL 31 - (07.06) - HYDRAULIC PUMP & PIPING (07) - HYDRAULIC SYSTEM
9
20
26
25
17
28
29
12
14
18
27
34
30
7
14
6
40
11
28
33
39
5
42
27
30
10
8
4
16
15
30
22
13
2
29
38
38
35
3
36
21
32
28
24
19
37
31
41
23
FIT
1:1
100%

Артикул

Название

Примечание

Количество

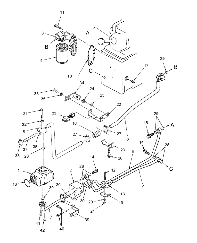
1

SBA340451090

HYDRAULIC PUMP

1шт.

2

SBA340016660

CONTROL VALVE

Manifold Diverter Block Refer to fig. 07.10 for Breakdown

1шт.

3

SBA340750260

BODY

Oil Filter, SBA011310640 Bolt Used

1шт.

4

84475483

HYDRAULIC OIL FILTER

HYDROSTATIC TRANSMISSION (HST) FILTER

1шт.

5

SBA340550270

HYD TUBE

Pipe

1шт.

6

SBA340706590

TUBE

SBA011310640 Bolt Used

1шт.

7

SBA340706560

HYD TUBE

1шт.

8

SBA340706603

HYD TUBE

1шт.

9

SBA340706570

HYD TUBE

1шт.

10

SBA398111120

HOSE

Rubber

1шт.

11

SBA011510840

BOLT,M6 x 40mm

8шт.

12

SBA012110855

STUD,M8 x 55

1шт.

13

SBA398115860

SPACER

1шт.

14

SBA398480240

BANJO BOLT,3/8"

PF

2шт.

15

SBA398480250

BANJO BOLT,1/2"

1шт.

16

SBA052310700

O-RING

G70

1шт.

17

SBA064500040

PLUG

1шт.

18

SBA340990390

GASKET

1шт.

19

SBA399112180

CLAMP

HST Line

1шт.

20

492-11031

LOCK WASHER,5/16"

1шт.

21

9706690

NUT,M8 x 1.25, Cl 8

1шт.

22

86402609

BRACKET

HYD Vacuum

1шт.

23

86402608

CLAMP

HYD Vacuum

1шт.

24

86511841

BOLT,Flng, M8 x 1.25 x 16mm, Full Thd, Cl 8.8

2шт.

25

492-11031

LOCK WASHER,5/16"

3шт.

26

86511842

BOLT,M8 x 1.25 x 48.1mm OAL, Cl 8.8

1шт.

27

82012725

HOSE CLAMP,#44, M32-44

2шт.

28

SBA052100200

O-RING,2.4mm Thk x 19.8mm ID, 70 Duro

5шт.

29

SBA052310250

O-RING

3шт.

30

SBA052110200

O-RING,2.4mm Thk x 19.8mm ID, 90 Duro

5шт.

31

120056

BOLT,M6 x 1.0 x 54.15mm, Cl 8.8

3шт.

32

9824259

WASHER,6.4mm ID x 12mm OD x 1.6mm Thk

3шт.

33

86530877

SWITCH

Cruise Control Brake Release

1шт.

34

86402616

BRACKET

Cruise Control Brake Release

1шт.

35

385683

BOLT,M4 x 0.7 x 12.92mm, Cl 8.8

2шт.

36

322355

BELLEVILLE WASHER,M4 Bolt Size x 10mm OD x 0.9mm Thk

2шт.

37

SBA340615950

HOSE

Pipe

1шт.

38

SBA398750420

HOSE CLAMP

2шт.

39

83966322

BRACKET

Bracket, FARMALL 31

1шт.

39

87519393

BRACKET

Bracket, FARMALL 35

1шт.

40

9804258

BOLT,Hex, M8 x 1.25 x 20mm, Cl 8.8

4шт.

41

86517328

LOCK WASHER,6.1mm ID x 11.8mm OD x 1.7mm Thk

3шт.

42

43118

BOLT,Hex, M6 x 1.0 x 40mm, Cl 8.8

3шт.

Выбрано товаров: 43