Запчасти Case IH FARMALL 35A (35.748.AF[01]) - LIFT CONTROL VALVE & LINK (35) - HYDRAULIC SYSTEMS

Схема запчастей Case IH FARMALL 35A - (35.748.AF[01]) - LIFT CONTROL VALVE & LINK (35) - HYDRAULIC SYSTEMS
4
6
12
11
8
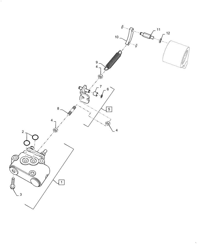
1
5
2
3
4
4
9
7
10
FIT
1:1
100%

Артикул

Название

Примечание

Количество

1

MT40250285

VALVE

Control, Incl 2 - 3

1шт.

2

MT40029205

O-RING,2.4mm Thk x 15.8mm ID

2шт.

3

MT40028928

BOLT,Hex, M8 x 1.25 x 50mm

3шт.

4

MT40029041

NUT,M8 x 1.25

3шт.

5

MT40008110

CLEVIS

Assy, Incl 6 - 8

1шт.

6

MT40029314

SNAP RING,M6

3шт.

7

MT40010196

ROLLER,8mm ID x 12mm OD x 12.50mm L

1шт.

8

MT40028584

SCREW,Skt, M8 x 1.25 x 40mm

1шт.

9

MT40011934

SPRING,7.50mm OD x 92mm L

1шт.

10

MT40012348

LINK,9mm Thk

1шт.

11

MT40009491

PIN,12mm OD x 50.5mm L

Feedback Link

1шт.

12

MT40029546

WASHER,8.20mm ID x 15.40mm OD x 2mm Thk

1шт.

Выбрано товаров: 12