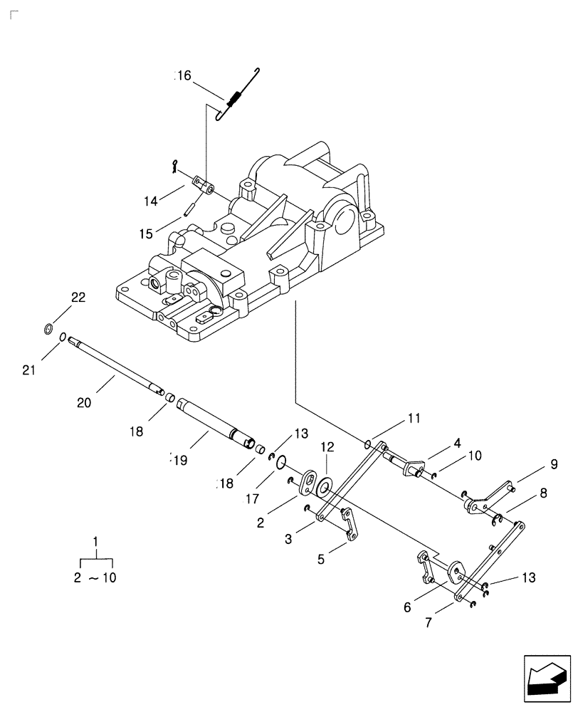
Запчасти Case IH FARMALL 35B (35.100.04) - DRAFT CONTROL LINK W/DRAFT (35) - HYDRAULIC SYSTEMS

Схема запчастей Case IH FARMALL 35B - (35.100.04) - DRAFT CONTROL LINK W/DRAFT (35) - HYDRAULIC SYSTEMS
11
2
18
1
17
22
5
2
4
19
14
12
6
15
16
13
8
10
7
18
1
13
20
3
21
9
FIT
1:1
100%

Артикул

Название

Примечание

Количество

1

MT40008052

LINK

Sub., Includes: 2-10

1шт.

2

NSS

NOT SOLD SEPARAT

PLATE Draft, 6T

1шт.

3

NSS

NOT SOLD SEPARAT

LINK Draft, 19x6Tx199L

1шт.

4

NSS

NOT SOLD SEPARAT

SHAFT Draft Control, D12x90L

1шт.

5

NSS

NOT SOLD SEPARAT

LINK

2шт.

6

MT40009457

PLATE

Position, 6T

1шт.

7

NSS

NOT SOLD SEPARAT

LINK Position, 19x6Tx199L

1шт.

8

MT40029318

SNAP RING,M9

Snap, D9

1шт.

9

NSS

NOT SOLD SEPARAT

LINK Pos/Feed Back

1шт.

10

MT40029314

SNAP RING,M6

Snap, D6

7шт.

11

MT40029193

O-RING,1.9mm Thk x 8.8mm ID

D8.8xW1.9

1шт.

12

MT40007809

RING,16.5mm ID x 21.9mm OD x 1.2mm Thk

Snap, O.D21.9xI.D16.5x1.2T/S-

1шт.

13

MT40029259

SNAP RING,M12

Snap, D12

1шт.

14

MT40012152

ARM

Draft. Control

1шт.

15

MT40029157

PIN,4mm OD x 20mm L

Spring, D4x20L

1шт.

16

MT40012357

SPRING,1.4mm ID x 9mm OD x 103mm L

D1.4xD9.0x103L

1шт.

17

MT40029204

O-RING,2.4mm Thk x 15.8mm OD

D15.8xW2.4

1шт.

18

MT40012724

BUSHING

#69

2шт.

19

MT40027839

SHAFT,21.7mm OD x 4.5mm Thk

Draft, O.D. 21.7 x 4.5T

1шт.

20

MT40009892

SHAFT,12mm OD x 239.8mm L

Position D12X 238.8L

1шт.

21

MT40029194

O-RING,9.8mm ID x 2.4mm Thk

D9.8 X W1.9

1шт.

22

MT40007806

RING,10mm ID x 12mm OD x 0.7mm Thk

Back Up, O.D. 12 x I.D. 10 x 0.7T

1шт.

Выбрано товаров: 22