Запчасти Case IH FARMALL 35B (10.101.02) - CYLINDER HEAD (10) - ENGINE

Схема запчастей Case IH FARMALL 35B - (10.101.02) - CYLINDER HEAD (10) - ENGINE
7
2
8
4
3
5
6
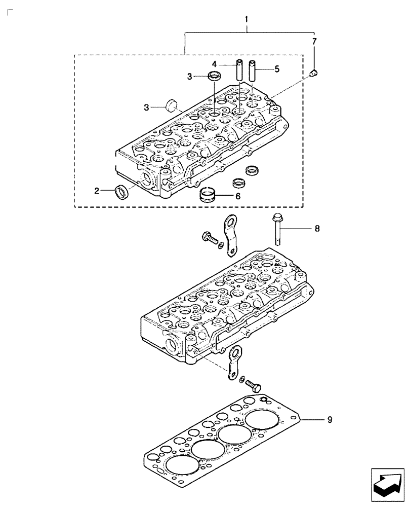
1
9
3
FIT
1:1
100%

Артикул

Название

Примечание

Количество

1

MT40233037

CYLINDER HEAD

Includes: Ref. 2-7

1шт.

2

MT40055402

PLUG

1шт.

3

MT40156197

CAP

7шт.

4

MT40109172

GUIDE

Exhaust Valve

4шт.

5

MT40224935

GUIDE

4шт.

6

MT40224942

JET

4шт.

7

MT40124409

PLUG

1шт.

8

MT40190353

BOLT

Cylinder Head

14шт.

9

MT40109179

GASKET

Cylinder Head

1шт.

Выбрано товаров: 9