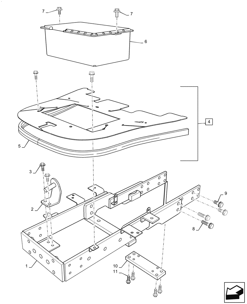
Запчасти Case IH FARMALL 35C (10.001.AK[01]) - ENGINE FRAME (10) - ENGINE

Схема запчастей Case IH FARMALL 35C - (10.001.AK[01]) - ENGINE FRAME (10) - ENGINE
1
7
9
3
5
6
4
11
7
2
10
8
FIT
1:1
100%

Артикул

Название

Примечание

Количество

1

MT40309377

FRAME

Engine

1шт.

2

MT40266264

BRACKET,6mm Thk

Hood

1шт.

3

MT40029007

BOLT,Hex, M8 x 1.25 x 25mm

2шт.

4

MT40268945

PLATE

Battery Assy

1шт.

5

MT40266265

WEATHERSTRIP

Hood

1шт.

6

MT40288183

HOUSING

Battery Tray

1шт.

7

MT40029006

BOLT,Hex, M8 x 1.25 x 20mm

5шт.

8

MT40289790

BOLT

4шт.

9

MT40289792

BOLT

12шт.

10

MT40309378

PLATE

Frame

1шт.

11

MT40289789

BOLT

4шт.

Выбрано товаров: 11