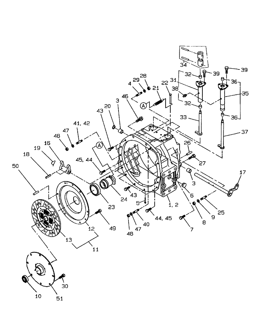
Запчасти Case IH FARMALL 40 (03.04) - CLUTCH, 12X12 (03) - TRANSMISSION

Схема запчастей Case IH FARMALL 40 - (03.04) - CLUTCH, 12X12 (03) - TRANSMISSION
21
39
36
48
1
45
13
32
28
26
2
11
43
36
47
23
7
20
50
41
33
40
30
27
44
25
10
22
38
51
44
49
3
19
39
47
29
43
42
3
45
5
12
17
31
34
37
18
8
35
32
48
4
24
46
16
9
6
FIT
1:1
100%

Артикул

Название

Примечание

Количество

1

SBA320111562

CASING

Clutch Assy., FARMALL 40

1шт.

2

SBA320111582

CASING

Clutch Assy., FARMALL 45 & 50

1шт.

3

SBA398510010

DRIVE BUSHING

2шт.

4

SBA012111240

BOLT

Stud

2шт.

5

SBA030104020

PIN

Split

1шт.

6

SBA398110760

COVER

33MM

1шт.

7

SBA011511235

BOLT,M12 x 35

3шт.

8

SBA021010012

NUT

M12

1шт.

9

412123

LOCK WASHER,13.1mm ID x 21.1mm OD x 2.55mm Thk

1шт.

10

SBA040116001

BALL BEARING

1шт.

11

SBA320040930

CLUTCH

FARMALL 40, Includes: 12 & 13

1шт.

11

SBA320040930R

REMAN-CLUTCH PLATE

FARMALL 40 w/rops

1шт.

11

SBA320040930C

CORE-CLUTCH PLATE

Return Number

1шт.

11

SBA320040940

CLUTCH, PRESSURE PLA

FARMALL 45 & 50, Includes: 12 & 13

1шт.

11

SBA320040940R

REMAN-CLUTCH PLATE

FARMALL 45, FARMALL 50, Both w/12X12 Gear or HST Transmission w/rops

1шт.

11

SBA320040940C

CORE-CLUTCH PLATE

Return Number

1шт.

12

SBA320450280

CLUTCH, PRESSURE PLA

FARMALL 40

1шт.

12

SBA320450280R

REMAN-CLUTCH PLATE

FARMALL 40 COMPACT TRACTOR - 12X12 Gear or HST Transmission w/rops

1шт.

12

SBA320450280C

CORE-CLUTCH PLATE

Return Number

1шт.

12

SBA320450290

CLUTCH, PRESSURE PLA

FARMALL 45 & 50

1шт.

13

SBA320400560

DISC

Clutch, FARMALL 40

1шт.

13

SBA320400560R

REMAN-CLUTCH DISC

FARMALL 40 COMPACT TRACTOR - 12X12 Gear or HST Transmission w/rops, Clutch

1шт.

13

SBA320400560C

CORE-CLUTCH KIT

Return Number

1шт.

13

SBA320400570

DISC,260mm OD

Clutch, FARMALL 45 & 50

1шт.

15

SBA320260140

FORK

Clutch

1шт.

17

SBA320201151

CLUTCH INPUT SHAFT

1шт.

18

SBA030300632

SLOTTED PIN,M6 x 32

2шт.

19

SBA398230020

RETAINING WIRE

2шт.

20

84021874

SNAP RING,M18, Ext

1шт.

21

SBA398210070

SPRING

1шт.

22

SBA031319028

PIN

1шт.

23

SBA398566490

THRUST BEARING,73.88mm OD x 45.00mm ID x 17.60mm Thk

Release

1шт.

24

SBA320310581

HUB

Release

1шт.

25

SBA012111240

BOLT

Stud

1шт.

26

SBA030501025

BALL STUD,M10 x 25 L

BALL PIN

2шт.

27

SBA011511235

BOLT,M12 x 35

2шт.

28

SBA021010012

NUT

M12

2шт.

29

412123

LOCK WASHER,13.1mm ID x 21.1mm OD x 2.55mm Thk

2шт.

30

SBA010700610

BOLT

8шт.

31

SBA324010530

COVER

1шт.

32

SBA398510310

BUSHING

2шт.

33

SBA324202740

ARM

Shift

1шт.

34

SBA398380240

UNIVERSAL JOINT

1шт.

35

SBA324010540

COVER

1шт.

36

SBA398510310

BUSHING

2шт.

37

SBA324202750

ARM

Shift

1шт.

38

SBA060610000

LUBE NIPPLE,M6 x .075

2шт.

39

SBA011510820

CAPTIVE WASHER SCREW,Hex, M8 x 20, G5

6шт.

40

SBA012111030

STUD,M10 x 30

2шт.

41

SBA012111045

SCREW

Stud, FARMALL 45 & 50

1шт.

42

SBA012111035

STUD

FARMALL 40

1шт.

43

SBA011511020

BOLT,M10 x 20

6шт.

44

SBA011511050

BOLT,M10 x 50

FARMALL 45 & 50

1шт.

45

SBA011511040

BOLT,M10 x 40

FARMALL 40

5шт.

46

SBA010109368

BOLT

M12x40

2шт.

47

140028

WASHER,10.2mm ID x 18.1mm OD x 2.2mm Thk

3шт.

48

SBA021010010

NUT,M10 x 1.25

3шт.

49

SBA011510816

BOLT

M8 x 16, FARMALL 40

9шт.

50

SBA030500620

PIN

Dowel, FARMALL 45 & 50

3шт.

50

SBA030501025

BALL STUD,M10 x 25 L

BALL PIN FARMALL 45 & 50

3шт.

51

SBA322613390

DAMPER

1шт.

Выбрано товаров: 61