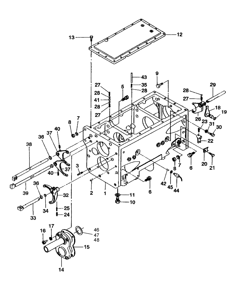
Запчасти Case IH FARMALL 40 (03.05) - FRONT TRANSMISSION CASE & SHIFTER 12X12 (03) - TRANSMISSION

Схема запчастей Case IH FARMALL 40 - (03.05) - FRONT TRANSMISSION CASE & SHIFTER 12X12 (03) - TRANSMISSION
26
11
40
21
15
48
37
42
27
12
14
39
36
37
17
6
13
7
16
5
20
33
28
29
8
28
1
3
30
22
28
25
10
9
23
44
32
36
18
41
24
45
47
2
19
46
7
28
35
6
27
31
43
27
38
34
8
40
FIT
1:1
100%

Артикул

Название

Примечание

Количество

1

SBA322118980

CASE

Transmission

1шт.

Uses 86542114 rivet, 3/16 twisting type to retain the serial number plate

1шт.

2

SBA030501025

BALL STUD,M10 x 25 L

BALL PIN

2шт.

3

SBA012111240

BOLT

Stud

1шт.

5

SBA010109304

BOLT

M14 x 1.5 x 40

2шт.

6

SBA011511235

BOLT,M12 x 35

7шт.

7

412123

LOCK WASHER,13.1mm ID x 21.1mm OD x 2.55mm Thk

4шт.

8

SBA021010012

NUT

M12

4шт.

9

SBA010109368

BOLT

M12 x 40

3шт.

10

SBA064600016

PLUG

M16

1шт.

11

SBA025100016

WASHER,16.4mm ID x 27mm OD x 2mm Thk

Seal

1шт.

12

SBA324711050

Case

1шт.

13

SBA011510820

CAPTIVE WASHER SCREW,Hex, M8 x 20, G5

18шт.

14

SBA320180610

RETAINER

1шт.

15

SBA320990220

GASKET

1шт.

16

43139

BOLT,M10 x 1.5 x 25mm, Cl 8.8

6шт.

17

SBA025100010

SEALING WASHER,9.2mm ID x 17mm OD x 1.8mm Thk

6шт.

18

SBA324200620

ARM

Shift

1шт.

19

SBA052100140

O-RING

1шт.

20

SBA399564790

PLATE

1шт.

21

SBA011510816

BOLT

M8 x 16

7шт.

22

SBA324106820

LEVER

Change

1шт.

23

300868

ROLL PIN,6mm OD x 36mm L, Slotted

1шт.

24

SBA030303536

PIN

Spring

1шт.

25

300868

ROLL PIN,6mm OD x 36mm L, Slotted

1шт.

26

SBA324412450

SHIFT, FORK

1шт.

27

SBA398210460

SPRING

3шт.

28

V34014

BALL

Steel

4шт.

29

SBA324312970

ROD

Shifter

1шт.

30

SBA399430190

BOLT

1шт.

31

SBA025100010

SEALING WASHER,9.2mm ID x 17mm OD x 1.8mm Thk

1шт.

32

SBA324412470

SHIFT, FORK

1шт.

32

SBA324412470

SHIFT, FORK

1шт.

32

SBA324412470

SHIFT, FORK

1шт.

33

SBA324300700

ROD

Shifter

1шт.

34

SBA399235550

COLLAR

1шт.

35

SBA398210280

SPRING

1шт.

36

SBA050203115

SEAL,28mm ID x 40mm OD x 8mm Thk

3шт.

37

SBA324411370

FORK

Shifter

2шт.

38

SBA324300710

ROD

Shifter

1шт.

39

SBA324300720

ROD

Shifter

1шт.

40

SBA030300632

SLOTTED PIN,M6 x 32

2шт.

41

SBA324560040

PIN

1шт.

42

SBA324560050

PIN

1шт.

43

SBA399611850

PIN

1шт.

44

SBA385200730

SWITCH

Transmission Range Safety

1шт.

45

SBA025100014

SEALING WASHER,14.4mm ID x 21mm OD x 2mm Thk

1шт.

46

SBA199280760

SHIM

0.5T

1шт.

47

SBA199280770

SHIM

0.3T

1шт.

48

SBA199280750

SHIM,0.1mm Thk

1шт.

Выбрано товаров: 50