Запчасти Case IH FARMALL 40 (08.03.02) - HOOD HEADLAMP & HARDWARE (08) - SHEET METAL

Схема запчастей Case IH FARMALL 40 - (08.03.02) - HOOD HEADLAMP & HARDWARE (08) - SHEET METAL
5
5
11
8
8
8
6
5
10
1
3
5
9
9
7
9
6
2
3
4
FIT
1:1
100%

Артикул

Название

Примечание

Количество

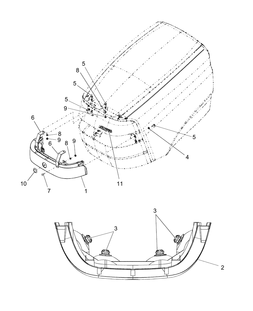
1

86400128

HEADLAMP

1шт.

2

86558052

HEADLAMP LENS

1шт.

3

9847313

BULB,#894, 12V, 37.5W

4шт.

4

86511315

WASHER,8.4mm ID x 16mm OD x 1.8mm Thk

2шт.

5

844-6016

BOLT,Hvy Hex, M6 x 16mm, Cl 8.8

5шт.

6

86404645

BRACKET

Front Light

1шт.

7

86512439

CARRIAGE BOLT,M6 x 16mm, Cl 8.8

1шт.

8

322357

BELLEVILLE WASHER,M6 Bolt Size x 14mm OD x 1.3mm Thk

5шт.

9

9804276

FLANGE NUT,Hex, M6 x 1, Cl 8

5шт.

10

86401812

DECAL

Black

1шт.

11

87297495

DECAL

FARMALL

1шт.

Выбрано товаров: 11