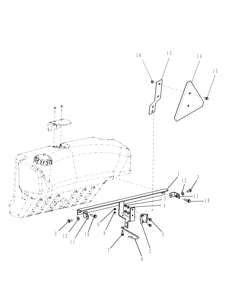
Запчасти Case IH FARMALL 40 (08.09) - SMV MOUNTING (08) - SHEET METAL

Схема запчастей Case IH FARMALL 40 - (08.09) - SMV MOUNTING (08) - SHEET METAL
10
11
13
11
14
1
6
5
3
2
4
12
3
12
9
8
15
7
16
3
10
FIT
1:1
100%

Артикул

Название

Примечание

Количество

1

87533140

BRACKET

1шт.

2

847590

BRACKET

1шт.

3

9804258

BOLT,Hex, M8 x 1.25 x 20mm, Cl 8.8

4шт.

4

322358

BELLEVILLE WASHER,M8 Bolt Size x 18mm OD x 1.4mm Thk

2шт.

5

9804277

FLANGE NUT,Hex, M8 x 1.25, Cl 8

2шт.

6

86562358

HOLDER

Top Link

1шт.

7

9671714

FLANGE BOLT,Hex, M8 x 1.25 x 25mm, Cl 8.8

1шт.

8

86511315

WASHER,8.4mm ID x 16mm OD x 1.8mm Thk

1шт.

9

86629542

NUT,M8 x 1.25, Cl 8.8

1шт.

10

9804264

FLANGE BOLT,M10 x 50mm, 26mm Thd, Cl 8.8

2шт.

11

87301449

BRACKET

Fender Support

2шт.

12

378244

WASHER,10.5mm ID x 24mm OD x 2mm Thk

2шт.

13

195035

SUPPORT

1шт.

14

86547710

EMBLEM

KIT SMV

1шт.

15

9804255

BOLT,Hex, M6 x 1 x 16mm, Full Thd, Cl 8.8

2шт.

16

353308

NUT,M6 x 1.0, Cl 8

2шт.

Выбрано товаров: 0