Запчасти Case IH FARMALL 40 (01.05) - ROCKER ARM (01) - ENGINE

Схема запчастей Case IH FARMALL 40 - (01.05) - ROCKER ARM (01) - ENGINE
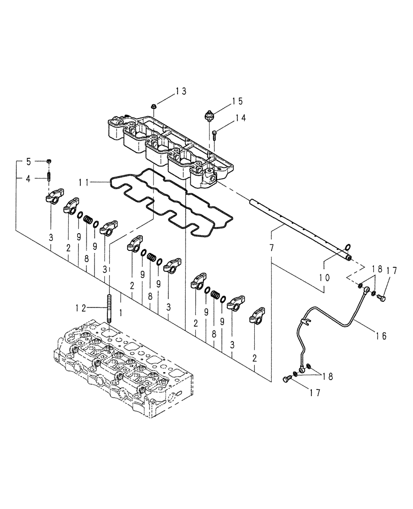
17
3
11
7
3
18
2
8
8
10
9
15
17
16
12
2
1
2
14
3
9
3
4
9
5
9
8
9
18
13
9
2
FIT
1:1
100%

Артикул

Название

Примечание

Количество

1

SBA120036940

ROCKER ARM

1шт.

2

SBA120356131

ROCKER ARM

Intake

4шт.

3

SBA120356141

ROCKER ARM

Exhaust

4шт.

4

SBA199486220

ADJUSTMENT SCREW

8шт.

5

SBA020109076

NUT

8шт.

7

SBA120316201

SHAFT

Rocker Arm

1шт.

8

SBA198217170

SPRING

2шт.

9

SBA199280300

SHIM,0.5mm Thk

6шт.

10

SBA052109076

O-RING,2.4mm Thk x 10.8mm ID

1шт.

11

SBA120996130

GASKET

1шт.

12

SBA012109044

STUD

4шт.

13

SBA023100010

NUT

M10

4шт.

14

SBA011310635

CAPTIVE WASHER SCREW,Hex, M6 x 35, Cl 8.8

2шт.

15

SBA185246060

SENDER UNIT

Oil Pressure

1шт.

16

SBA140606720

TUBE

FARMALL 40

1шт.

16

SBA140607020

RIGID TUBE

FARMALL 45

1шт.

17

SBA198486780

BANJO BOLT

2шт.

18

SBA140996260

SEAL

4шт.

Выбрано товаров: 0