Запчасти Case IH FARMALL 40 (01.13) - FUEL INJECTION PUMP & LINES (01) - ENGINE

Схема запчастей Case IH FARMALL 40 - (01.13) - FUEL INJECTION PUMP & LINES (01) - ENGINE
FIT
1:1
100%

Артикул

Название

Примечание

Количество

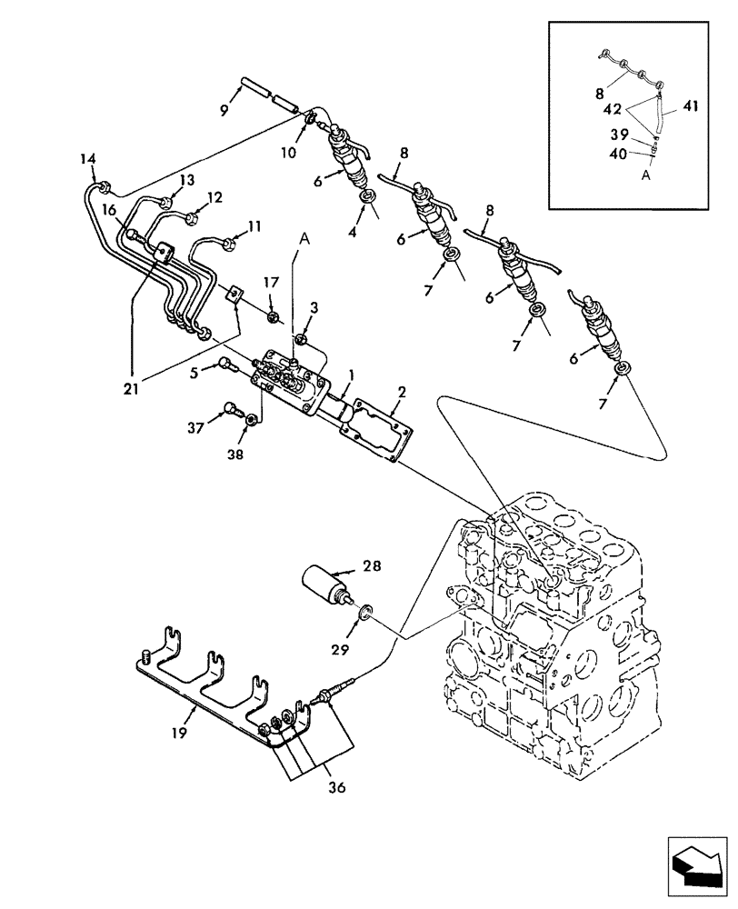
1

SBA131011011

FUEL INJECTION PUMP

Components Not Serviced Separately

1шт.

1

SBA131011120R

REMAN-FUEL INJ PUMP

FARMALL 40, FARMALL 45, BOTH HST TRANSMISSION W/CAB, Reman For New P/N SBA131011011

1шт.

1

SBA131011120C

CORE-FUEL INJ PUMP

Return Number

1шт.

1

SBA131011120

FUEL INJECTION PUMP

Components Not Serviced Separately

1шт.

1

SBA131011120R

REMAN-FUEL INJ PUMP

FARMALL 40, FARMALL 45, Both (HST TRANSMISSION W/CAB)

1шт.

1

SBA131011120C

CORE-FUEL INJ PUMP

Return Number

1шт.

USED ON & ABOVE ENGINE SERIAL NUMBER 166137-FARMALL 40 & 72382-FARMALL 45

1шт.

2

SBA131426320

SHIM KIT

Includes: 0.2, 0.3, 0.4, & 0.5 Shims

1шт.

3

9804277

FLANGE NUT,Hex, M8 x 1.25, Cl 8

3шт.

4

SBA131426200

SEAL

1шт.

5

SBA011800820

BOLT

2шт.

6

SBA131406360

FUEL SYSTEM INJECTOR

Refer to Fig. 01.13.02 for breakdown

4шт.

6

87298764

REMAN-FUEL INJECTOR

4шт.

6

87298765

CORE-FUEL INJECTOR

Return Number

4шт.

7

SBA131426200

SEAL

3шт.

8

SBA131606440

TUBE

Fuel Return, FARMALL 40

1шт.

8

SBA131606950

TUBE

Ruel Return, FARMALL 45

1шт.

9

SBA068209030

FLEXIBLE HOSE

Rubber

1шт.

10

SBA067200078

HOSE CLAMP

2шт.

11

SBA131507601

TUBE

Injection, FARMALL 40

1шт.

11

SBA131507610

RIGID TUBE

Injection, FARMALL 45

1шт.

12

SBA131507611

TUBE

Injection, FARMALL 40

1шт.

12

SBA131501040

RIGID TUBE

Injection, FARMALL 45

1шт.

13

SBA131507620

RIGID TUBE

Injection, FARMALL 40

1шт.

13

SBA131501050

RIGID TUBE

Injection, FARMALL 45

1шт.

14

SBA131507630

RIGID TUBE

Injection, FARMALL 40

1шт.

14

SBA131501060

RIGID TUBE

Injection, FARMALL 45

1шт.

16

86977786

BOLT,Hex, M6 x 1 x 25mm, Cl 8.8

3шт.

17

9804276

FLANGE NUT,Hex, M6 x 1, Cl 8

3шт.

19

SBA185376150

BRACKET

1шт.

Not Included in Long Block

1шт.

21

SBA199106021

CLAMP

Complete

6шт.

28

SBA185206084

SOLENOID

Fuel Shutoff

1шт.

Not Included in Long Block

1шт.

29

SBA025100016

WASHER,16.4mm ID x 27mm OD x 2mm Thk

Seal

1шт.

36

SBA185366190

GLOW PLUG

4шт.

37

86512138

HEX SOC SCREW,M8 x 20mm, Cl 12.9

1шт.

38

SBA026200008

WASHER

Seal

1шт.

39

SBA198487920

HYD CONNECTOR

1шт.

40

SBA140996350

COPPER WASHER,8.36mm ID x 12.98mm OD x 1.02mm Thk

Gasket

1шт.

41

SBA068204090

RIGID TUBE

FARMALL 40

1шт.

41

SBA068204112

HOSE

FARMALL 45

1шт.

42

SBA067200078

HOSE CLAMP

2шт.

Выбрано товаров: 43