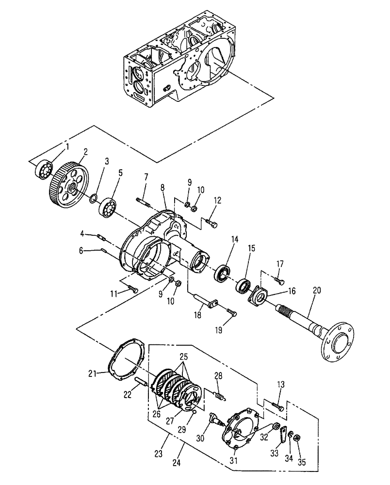
Запчасти Case IH FARMALL 40 (05.02) - REAR AXLE BRAKE & WHEEL SHAFT (05) - REAR AXLE

Схема запчастей Case IH FARMALL 40 - (05.02) - REAR AXLE BRAKE & WHEEL SHAFT (05) - REAR AXLE
26
3
8
18
19
23
27
9
22
4
30
28
25
34
1
24
17
12
20
2
9
10
35
21
15
29
31
13
10
5
6
14
32
7
33
11
16
FIT
1:1
100%

Артикул

Название

Примечание

Количество

1

83908455

BALL BEARING

2шт.

2

SBA326370780

GEAR

Final

2шт.

3

SBA398340570

CLIP

4шт.

4

SBA012111030

STUD,M10 x 30

5шт.

5

9780033

BALL BEARING

2шт.

6

SBA030501025

BALL STUD,M10 x 25 L

BALL PIN Knock

6шт.

7

SBA012111065

STUD

Stud

2шт.

8

SBA326344840

CASE

Wheel Shaft

2шт.

8

SBA326345500

CASE

Wheel Shaft

2шт.

USED ON & ABOVE DRIVELINE 3M70368-FARMALL 40, 3M70283-FARMALL 45

1шт.

9

892-11010

LOCK WASHER,M10

7шт.

10

SBA021010010

NUT,M10 x 1.25

7шт.

11

SBA011511030

CAPTIVE WASHER SCREW,Hex, M10 x 30, G5

7шт.

12

SBA011511065

BOLT

M10 x 65

14шт.

13

SBA011511025

CAPTIVE WASHER SCREW,Hex, M10 x 25, G5

16шт.

14

28996590

BALL BEARING

2шт.

15

SBA399030090

SEAL KIT

Oil

2шт.

16

SBA326360730

COVER

Shaft Case, Oil Seal

2шт.

17

SBA011511035

BOLT,M10 x 35

8шт.

18

SBA370900450

PIN

Lower Link

2шт.

19

SBA011511025

CAPTIVE WASHER SCREW,Hex, M10 x 25, G5

2шт.

20

SBA326312270

SHAFT

Wheel

2шт.

21

SBA328990130

GASKET

Brake

2шт.

22

SBA328260150

PIN

Anchor

2шт.

23

SBA328002380

ACTUATOR

Brake, Right

1шт.

23

SBA328002650

BRAKE

Actuator, Right

1шт.

USED ON & ABOVE DRIVELINE 3M70368-FARMALL 40, 3M70283-FARMALL 45

1шт.

24

SBA328002360

ACTUATOR

Brake Assy., Left

1шт.

24

SBA328002630

BRAKE

Actuator, Left

1шт.

USED ON & ABOVE DRIVELINE 3M70368-FARMALL 40, 3M70283-FARMALL 45

1шт.

25

SBA328110161

DISC

Brake Lining

3шт.

26

SBA328560210

DISC

Brake

4шт.

26

SBA328560210

DISC

Brake

3шт.

USED ON & ABOVE DRIVELINE 3M70368-FARMALL 40, 3M70283-FARMALL 45

1шт.

27

SBA328560230

ACTUATOR

RH

1шт.

27

SBA328560200

ACTUATOR

LH

1шт.

28

SBA398213340

SPRING

3шт.

29

SBA048109004

BALL

Steel

4шт.

30

SBA328310160

CAM

Brake

1шт.

31

SBA328200470

COVER

RH Brake

1шт.

31

SBA328200450

COVER

LH Brake

1шт.

32

SBA050109015

SEAL

1шт.

33

SBA328320930

LEVER

Brake

1шт.

34

9847025

LOCK WASHER,21.2mm ID x 33.6mm OD x 6mm Thk

1шт.

35

100085

NUT,M20 x 1.5, Cl 8

1шт.

Выбрано товаров: 45