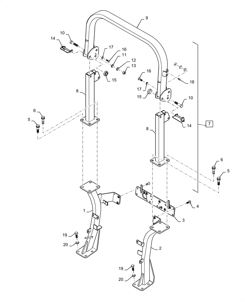
Запчасти Case IH FARMALL 40A (90.114.010) - FOLDABLE ROPS (90) - PLATFORM, CAB, BODYWORK AND DECALS

Схема запчастей Case IH FARMALL 40A - (90.114.010) - FOLDABLE ROPS (90) - PLATFORM, CAB, BODYWORK AND DECALS
2
10
1
9
20
14
6
3
10
8
16
13
4
5
5
19
8
19
7
11
15
20
16
17
12
17
6
15
14
18
FIT
1:1
100%

Артикул

Название

Примечание

Количество

1

MT40337846

RH, Lower

FRAME,409.5mm x 801mm x 170.5mm

1шт.

2

MT40337845

LH, Lower

FRAME,409.5mm x 801mm x 170.5mm

1шт.

3

MT40241242

FRAME

Rear

1шт.

4

MT40028948

BOLT,Hex, M10 x 1.25 x 25mm

4шт.

5

MT40028983

BOLT,Hex, M12 x 1.75 x 45mm

4шт.

6

MT40094530

BOLT,Hex, M12 x 1.75 x 65mm

M12 x 1.75 x 65mm

4шт.

7

MT40241188

Incl 8 - 18

FRAME

1шт.

8

MT40247166

FRAME

Mid

2шт.

9

MT40011418

FRAME

Upper

1шт.

10

MT40029406

BOLT,M14 x 2 x 80mm L

2шт.

11

MT40028160

WASHER,15mm ID x 24mm OD x 2.5mm Thk

2шт.

12

MT40029553

WASHER,14.20mm ID x 24.50mm OD x 3.50mm Thk

2шт.

13

MT40028727

NUT,Hex, M14 x 2

2шт.

14

MT40233112

PIN,14mm ID x 80mm L

2шт.

15

MT40027824

GROMMET,24.5mm OD x 14mm ID x 13mm Thk

2шт.

16

MT40029491

BOLT,Hex, M6 x 1.0 x 20mm

2шт.

17

MT40028719

NUT,Hex, M6 x 1.0

2шт.

18

MT40266803

PLUG,M8

2шт.

19

MT40029397

BOLT,Hex, M14 x 2 x 40mm

8шт.

20

MT40029553

WASHER,14.20mm ID x 24.50mm OD x 3.50mm Thk

8шт.

Выбрано товаров: 20