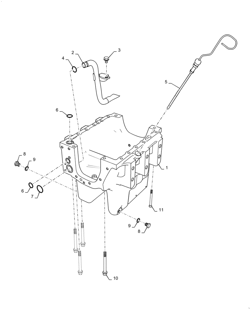
Запчасти Case IH FARMALL 40A (10.102.010) - OIL PAN (10) - ENGINE

Схема запчастей Case IH FARMALL 40A - (10.102.010) - OIL PAN (10) - ENGINE
9
2
3
5
11
7
6
8
8
4
9
6
10
1
FIT
1:1
100%

Артикул

Название

Примечание

Количество

1

MT40272350

ENGINE OIL PAN

1шт.

2

MT40267626

FILTER STRAINER

Oil

1шт.

3

MT40268189

FLANGE BOLT,Hex, M8 x 1.25 x 12mm

1шт.

4

MT40029203

O-RING,2.40mm Thk x 14.8mm OD

1шт.

5

MT40303643

LEVEL INDICATOR

Dip Stick

1шт.

6

MT40029209

O-RING,21.80mm ID x 2.4mm Thk

2шт.

7

MT40116509

O-RING,3.5mm Thk x 25.7mm ID

1шт.

8

MT40012908

PLUG,M14 x 1.5

Drain

2шт.

9

MT40012780

GASKET,14mm ID, 1mm Thk

Drain Plug

2шт.

10

MT40009555

BOLT,Hex, M8 x 1.25 x 155mm

4шт.

11

MT40327868

BOLT,Hex, M8 x 1.25 x 90mm

12шт.

Выбрано товаров: 11