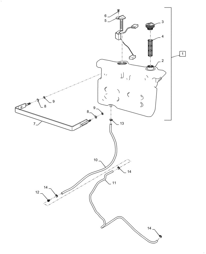
Запчасти Case IH FARMALL 40A (10.218.030) - FUEL TANK & ASSOCIATED PARTS (10) - ENGINE

Схема запчастей Case IH FARMALL 40A - (10.218.030) - FUEL TANK & ASSOCIATED PARTS (10) - ENGINE
5
8
1
14
13
10
3
9
12
8
9
6
14
4
2
7
14
11
FIT
1:1
100%

Артикул

Название

Примечание

Количество

1

MT40339977

FUEL TANK

Assy, Incl 2 - 6

1шт.

2

MT40339976

FUEL TANK

1шт.

3

MT40277904

CAP

1шт.

4

MT40282424

FILTER STRAINER

1шт.

5

MT40181437

FUEL GAUGE

1шт.

6

MT40028908

BOLT,Hex, M5 x 0.8 x 16mm

5шт.

7

MT40326391

BAND

1шт.

8

MT40028194

WASHER,8.4mm ID x 20mm OD x 1.6mm Thk

2шт.

9

MT40027836

NUT

2шт.

10

MT40305219

FUEL HOSE

1шт.

11

MT40295029

FUEL HOSE

1шт.

12

MT40325181

HYD CONNECTOR

1шт.

13

MT40012020

HOSE CLAMP,8mm -16mm

1шт.

14

MT40313398

CLAMP

3шт.

Выбрано товаров: 14