Запчасти Case IH FARMALL 40A (31.104.020) - PTO, HYDRAULIC LINE, HYDROSTATIC TRANSMISSION (31) - IMPLEMENT POWER TAKE OFF

Схема запчастей Case IH FARMALL 40A - (31.104.020) - PTO, HYDRAULIC LINE, HYDROSTATIC TRANSMISSION (31) - IMPLEMENT POWER TAKE OFF
5
4
3
5
2
12
9
11
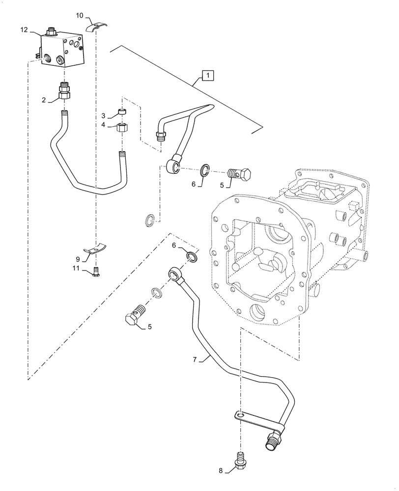
1
6
10
6
7
8
FIT
1:1
100%

Артикул

Название

Примечание

Количество

1

MT40334609

Assy, Incl 2 - 4

HYD TUBE

1шт.

2

MT40009978

JOINT,12mm OD x 3/8”

1шт.

3

MT40253318

SLEEVE

1шт.

4

MT40253317

NUT

1шт.

5

MT40010321

BOLT,Union, PF 3/8" x 22mm OD

2шт.

6

MT40012415

SEAL,16.8mm ID x 1.5mm Thk

4шт.

7

MT40309695

PIPE

1шт.

8

MT40094500

BOLT,Hex, M12 x 1.75 x 25mm

1шт.

9

MT40334610

CLAMP

1шт.

10

MT40334611

CLAMP

1шт.

11

MT40028967

BOLT,Hex, M6 x 1 x 25mm

1шт.

12

MT40242185

VALVE

1шт.

Выбрано товаров: 12