Запчасти Case IH FARMALL 40B (90.114.01) - FOLDABLE ROPS (90) - PLATFORM, CAB, BODYWORK AND DECALS

Схема запчастей Case IH FARMALL 40B - (90.114.01) - FOLDABLE ROPS (90) - PLATFORM, CAB, BODYWORK AND DECALS
8
2
4
11
13
10
12
15
16
18
5
19
3
9
6
19
home
17
7
10
1
8
14
11
9
FIT
1:1
100%

Артикул

Название

Примечание

Количество

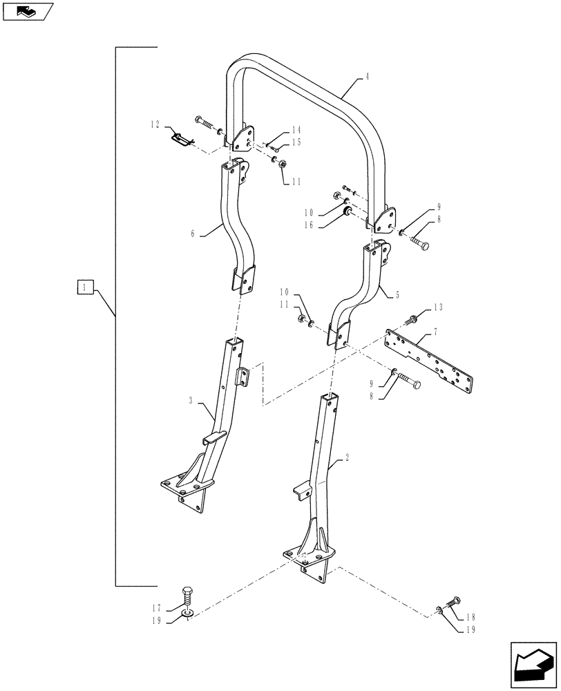
1

MT20120026

ROPS

Includes: Ref. 2-16

1шт.

2

NSS

NOT SOLD SEPARAT

FRAME, Lower, LH

1шт.

40011305

1шт.

3

NSS

NOT SOLD SEPARAT

FRAME, Lower, RH

1шт.

40011306

1шт.

4

NSS

NOT SOLD SEPARAT

FRAME, Upper

1шт.

40011728

1шт.

5

NSS

NOT SOLD SEPARAT

FRAME, Middle, LH

1шт.

40011649

1шт.

6

NSS

NOT SOLD SEPARAT

FRAME, Middle, RH

1шт.

40011650

1шт.

7

NSS

NOT SOLD SEPARAT

PLATE, Connector, 9T

1шт.

40012350

1шт.

8

MT40029406

BOLT,M14 x 2 x 80mm L

Hex, M14 x 2 x 80L

6шт.

9

MT40029553

WASHER,14.20mm ID x 24.50mm OD x 3.50mm Thk

Spring, OD24 x I.D. 5 x 14.2 x 3.5T

6шт.

10

MT40028160

WASHER,15mm ID x 24mm OD x 2.5mm Thk

OD24.5x ID15 x 2.5T

6шт.

11

MT40028727

NUT,Hex, M14 x 2

Hex, M14 x 2

6шт.

12

MT40233112

PIN,14mm ID x 80mm L

2шт.

13

MT40029010

BOLT,Hex, M8 x 1.25 x 35mm

Hex, W/Washer M8 x 1.25 x 35L

4шт.

14

MT40029491

BOLT,Hex, M6 x 1.0 x 20mm

Hex, M6 x 1 x 20L

2шт.

15

MT40028719

NUT,Hex, M6 x 1.0

Hex, M6 x 1

2шт.

16

MT40027824

GROMMET,24.5mm OD x 14mm ID x 13mm Thk

Lower, OD24.5 x ID14 x 13T

2шт.

17

MT40029396

BOLT,Hex, M14 x 2 x 35mm

Hex, M14 x 2 x 35L

8шт.

18

MT40237347

BOLT,M14 x 2 x 35mm L

4шт.

19

MT40029553

WASHER,14.20mm ID x 24.50mm OD x 3.50mm Thk

Spring, OD24.5 x ID14.2 x 3.5T

12шт.

Выбрано товаров: 0