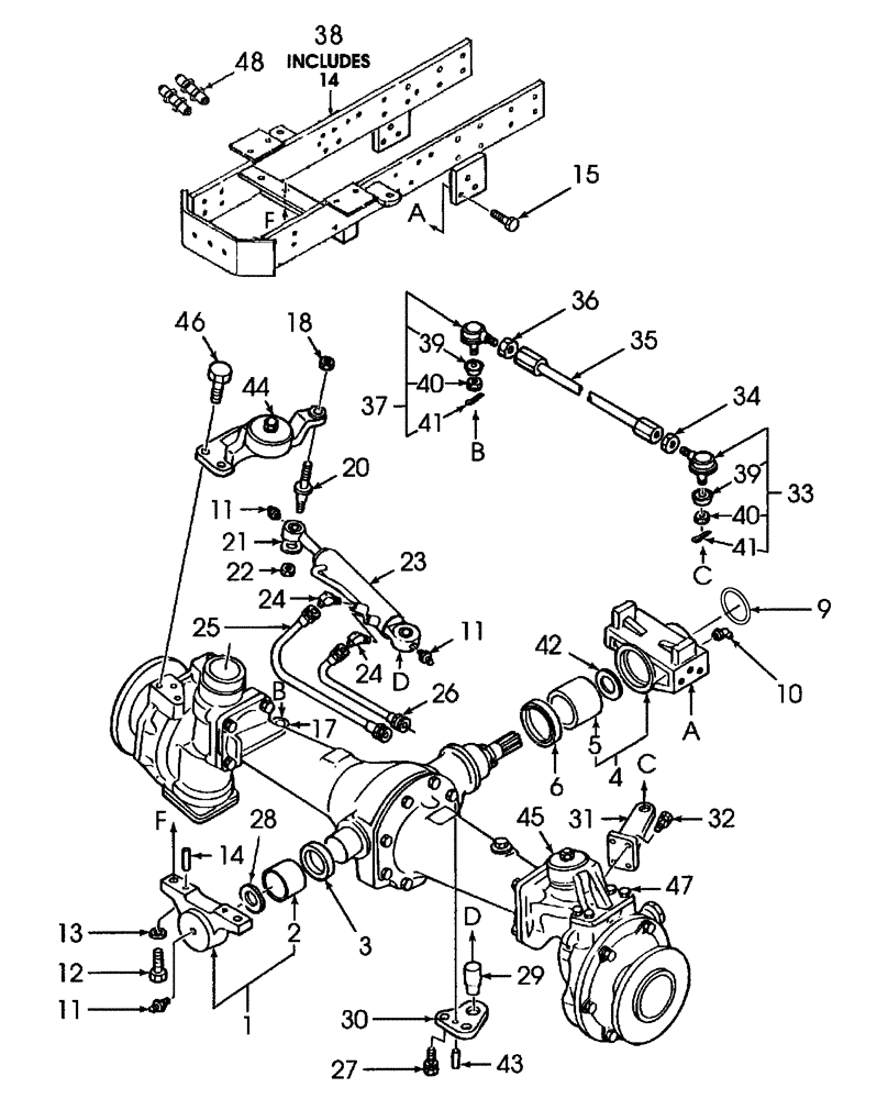
Запчасти Case IH FARMALL 40B CVT (25.108.AA) - FRONT AXLE & STEERING W/FWD - BSN ZDMB12180 (25) - FRONT AXLE SYSTEM

Схема запчастей Case IH FARMALL 40B CVT - (25.108.AA) - FRONT AXLE & STEERING W/FWD - BSN ZDMB12180 (25) - FRONT AXLE SYSTEM
17
11
39
39
9
44
34
30
33
12
24
2
25
43
31
13
24
14
28
35
41
11
22
32
45
20
15
40
40
4
48
1
27
37
29
42
14
47
5
18
3
10
21
36
46
11
23
41
26
38
6
FIT
1:1
100%

Артикул

Название

Примечание

Количество

1

SBA322017770

CASING

Includes: Ref. 2

1шт.

2

SBA398511510

DRIVE BUSHING

1шт.

3

SBA050301160

SEAL

Oil

1шт.

4

SBA322018110

CASING

Includes: Ref. 5

1шт.

5

SBA398511600

BUSHING

1шт.

6

SBA050309066

SEAL

Oil

1шт.

9

SBA052300400

O-RING

1шт.

10

80717

LUBE NIPPLE,45 Degree, 1/8" NPT x 7/8" lg

1шт.

11

SBA060620000

LUBE NIPPLE

3шт.

12

385922

BOLT,Hex, M16 x 2 x 45mm, Cl 8.8

2шт.

13

86729275

LOCK WASHER,5/8 0.634 CST ZND

3шт.

14

SBA030501032

PIN

Dowel, M10 x 32

2шт.

15

SBA010109304

BOLT

4шт.

17

SBA334600590

ARM

Knuckle, R.H.

1шт.

18

SBA022509001

NUT,U, M20 x 1.5. Cl 8

1шт.

20

SBA399612081

PIN

1шт.

21

SBA399210710

WASHER

1шт.

22

SBA022409003

NUT,U, M16 x 1.5, Cl 8

1шт.

23

SBA344952870

CYLINDER

Power Steering, Refer to Fig. 04.02.01 For Breakdown

1шт.

SBA344952871R

REMAN-HYD CYLINDER

FARMALL 40B CVT W/CAB-ON & ABOVE PIN # ZCME21001, FARMALL 45B CVT W/CAB-ON & ABOVE PIN # ZCME21001, FARMALL 50B CVT TRANSMISSION W/CAB-ON & ABOVE PIN # ZCME21001, Reman for New P/N SBA344952870

1шт.

SBA344952871C

CORE-HYD CYLINDER

Return Number

1шт.

24

330346

45 ELBOW,45 Degree, 9/16"-18, 37 Degree x 9/16"-18, O-Ring

2шт.

25

86400298

HYDRAULIC HOSE,9.53 mm ID x 540.00 mm, SAE 100R17

1шт.

26

86400298

HYDRAULIC HOSE,9.53 mm ID x 540.00 mm, SAE 100R17

1шт.

27

SBA011511230

BOLT,M12 x 30

2шт.

28

SBA399261570

THRUST WASHER

1шт.

29

SBA399611380

PIN

1шт.

30

SBA334660690

PLATE

1шт.

31

SBA334600590

ARM

Knuckle, L.H.

1шт.

32

SBA011511030

CAPTIVE WASHER SCREW,Hex, M10 x 30, G5

8шт.

33

SBA334800630

END

L.H. Includes: Ref. 39 thru 41

1шт.

34

SBA020109042

NUT

1шт.

35

SBA334704200

CONNECTING ROD

1шт.

36

320771

NUT,Thin, M20 x 1.5, Cl 04

RH

1шт.

37

SBA334801350

TRACK ROD END ASSY

R.H., Grease Zerk Not Serviced; Procure Locally; Includes: Ref. 39 thru 41

1шт.

38

SBA330105990

SUPPORT

Front

1шт.

39

SBA334810140

COVER

Rubber

2шт.

40

SBA334810130

NUT

M14 x 1.5

2шт.

41

SBA030103232

COTTER PIN

2шт.

42

SBA399261590

THRUST WASHER

1шт.

43

SBA030501032

PIN

1шт.

44

SBA334525160

ARM

R.H.

1шт.

45

SBA334525150

ARM

L.H.

1шт.

46

SBA011511240

BOLT,M12 x 40

RH

4шт.

47

SBA011511235

BOLT,M12 x 35

LH

4шт.

48

86400264

FITTING,9/16"-18 x M66.4 L

2шт.

Выбрано товаров: 46