Запчасти Case IH FARMALL 40C (10.001.030) - ENGINE, MAIN FRAME (10) - ENGINE

Схема запчастей Case IH FARMALL 40C - (10.001.030) - ENGINE, MAIN FRAME (10) - ENGINE
6
9
1
5
6
3
2
7
4
8
FIT
1:1
100%

Артикул

Название

Примечание

Количество

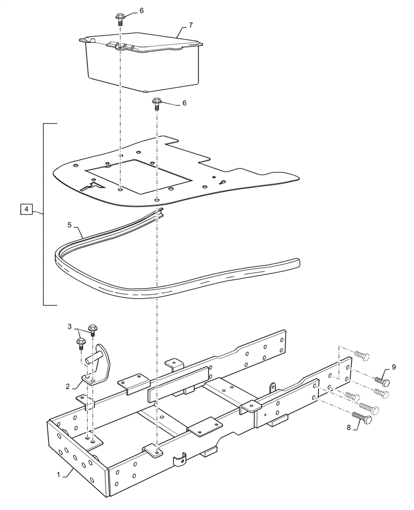
1

MT40293438

FRAME

Engine

1шт.

2

MT40266264

BRACKET,6mm Thk

Hood Catch

1шт.

3

MT40029007

BOLT,Hex, M8 x 1.25 x 25mm

W/Washer

2шт.

4

MT40293448

PLATE

Assy, Battery

1шт.

5

MT40293449

WEATHERSTRIP

Hood

1шт.

6

MT40029006

BOLT,Hex, M8 x 1.25 x 20mm

W/Washer

5шт.

7

MT40288183

HOUSING

Battery Case

1шт.

8

MT40236186

BOLT,Hex, M14 x 2 x 50mm

W/Washer

4шт.

9

MT40234226

BOLT

W/Washer

8шт.

Выбрано товаров: 0