Запчасти Case IH FARMALL 45 (01.18.01) - FUEL INJECTION PUMP & LINES (01) - ENGINE

Схема запчастей Case IH FARMALL 45 - (01.18.01) - FUEL INJECTION PUMP & LINES (01) - ENGINE
FIT
1:1
100%

Артикул

Название

Примечание

Количество

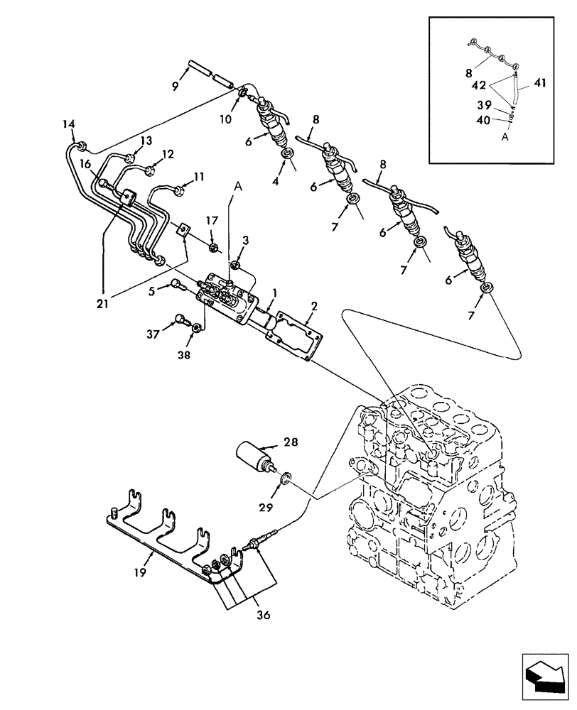
1

SBA131011011

FUEL INJECTION PUMP

Components Not Serviced Separately

1шт.

1

SBA131011120R

REMAN-FUEL INJ PUMP

FARMALL 40, FARMALL 45, Both (12X12 GEAR OR HST TRANSMISSION W/ROPS), FARMALL 50 (12X12 W/ROPS), Reman For New P/N SBA131011011

1шт.

1

SBA131011120C

CORE-FUEL INJ PUMP

Return Number

1шт.

1

SBA131011120

FUEL INJECTION PUMP

Components Not Serviced Separately

1шт.

1

SBA131011120R

REMAN-FUEL INJ PUMP

FARMALL 40, FARMALL 45, Both (12X12 GEAR OR HST TRANSMISSION W/ROPS), FARMALL 50 (12X12 W/ROPS)

1шт.

1

SBA131011120C

CORE-FUEL INJ PUMP

Return Number

1шт.

USED ON & ABOVE ENGINE SERIAL NUMBER 166137-FARMALL 40, 72382-FARMALL 45 & 72456-FARMALL 50

1шт.

2

SBA131426320

SHIM KIT

Includes: 0.2, 0.3, 0.4, & 0.5 Shims

1шт.

3

9804277

FLANGE NUT,Hex, M8 x 1.25, Cl 8

3шт.

4

SBA131426200

SEAL

1шт.

5

SBA011800820

BOLT

2шт.

6

SBA131406360

FUEL SYSTEM INJECTOR

4шт.

6

87298764

REMAN-FUEL INJECTOR

4шт.

6

87298765

CORE-FUEL INJECTOR

Return Number

4шт.

7

SBA131426200

SEAL

3шт.

8

SBA131606440

TUBE

Fuel Return, FARMALL 40

1шт.

8

SBA131606950

TUBE

Fuel Return, FARMALL 45 & 50

1шт.

9

SBA068209030

FLEXIBLE HOSE

Rubber

1шт.

10

SBA067200078

HOSE CLAMP

2шт.

11

SBA131507601

TUBE

Injection, FARMALL 40

1шт.

11

SBA131501030

RIGID TUBE

Injection, FARMALL 45 & 50

1шт.

12

SBA131507611

TUBE

Injection, FARMALL 40

1шт.

12

SBA131501040

RIGID TUBE

Injection, FARMALL 45 & 50

1шт.

13

SBA131507620

RIGID TUBE

Injection, FARMALL 40

1шт.

13

SBA131501050

RIGID TUBE

Injection, FARMALL 45 & 50

1шт.

14

SBA131507630

RIGID TUBE

Injection, FARMALL 40

1шт.

14

SBA131501060

RIGID TUBE

Injection, FARMALL 45 & 50

1шт.

16

86977786

BOLT,Hex, M6 x 1 x 25mm, Cl 8.8

3шт.

17

9804276

FLANGE NUT,Hex, M6 x 1, Cl 8

3шт.

19

SBA185376150

BRACKET

1шт.

Not Included in Long Block

1шт.

21

SBA199106021

CLAMP

Complete

6шт.

28

SBA185206084

SOLENOID

Fuel Shutoff

1шт.

Not Included in Long Block

1шт.

29

SBA025100016

WASHER,16.4mm ID x 27mm OD x 2mm Thk

Seal

1шт.

36

SBA185366060

GLOW PLUG

4шт.

37

86512138

HEX SOC SCREW,M8 x 20mm, Cl 12.9

1шт.

38

SBA026200008

WASHER

Seal

1шт.

39

SBA198487920

HYD CONNECTOR

1шт.

40

SBA140996350

COPPER WASHER,8.36mm ID x 12.98mm OD x 1.02mm Thk

Gasket

1шт.

41

SBA068204090

RIGID TUBE

FARMALL 40

1шт.

41

SBA068204112

HOSE

FARMALL 45 & 50

1шт.

42

SBA067200078

HOSE CLAMP

2шт.

Выбрано товаров: 43