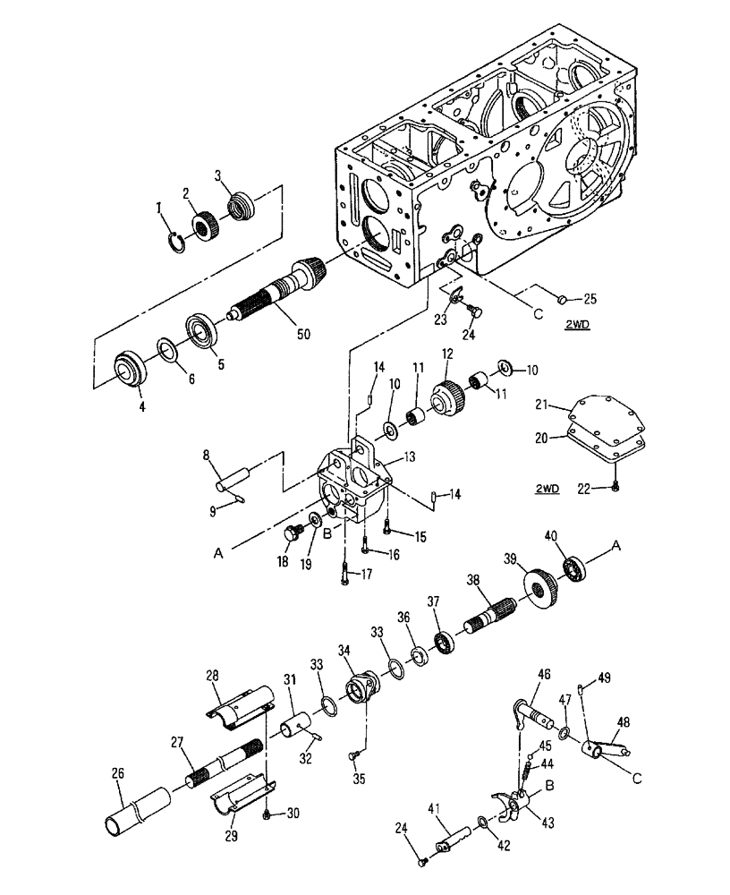
Запчасти Case IH FARMALL 45 (03.15) - FWD DROP BOX AND DRIVE SHAFT (03) - TRANSMISSION

Схема запчастей Case IH FARMALL 45 - (03.15) - FWD DROP BOX AND DRIVE SHAFT (03) - TRANSMISSION
15
37
1
39
34
20
6
23
33
43
25
18
12
10
45
29
47
8
32
4
49
36
13
28
14
35
41
11
11
21
44
10
46
19
2
48
24
16
42
14
17
26
31
33
3
30
27
24
5
40
9
50
38
22
FIT
1:1
100%

Артикул

Название

Примечание

Количество

1

370004

SNAP RING,M35 x 1.5mm Thk, External

FWD

1шт.

2

SBA322325810

GEAR

Fixing A, FWD

1шт.

3

SBA399370750

NUT

Drive Pinion Lock, M40 x 1.5

1шт.

4

SBA042530208

TAPERED BEARING

1шт.

5

SBA042532208

TAPERED BEARING

1шт.

6

SBA199280750

SHIM,0.1mm Thk

1шт.

6

SBA199280760

SHIM

.2 or 0.008"

1шт.

6

SBA199280770

SHIM

.5 or 0.020"

1шт.

8

SBA322560500

COUNTERSHAFT

1шт.

9

412660

PIN,6mm OD x 45mm L, Slotted

FWD

1шт.

10

SBA399260980

THRUST WASHER

FWD

2шт.

11

SBA042209014

NEEDLE BEARING

FWD

2шт.

12

SBA322371990

GEAR

Counter A, FWD

1шт.

13

SBA322117221

CASING

FWD Drop Box

1шт.

14

SBA030500820

PIN

Knock, FWD

2шт.

15

SBA011510825

CAPTIVE WASHER SCREW,Hex, M8 x 25, G5

FWD

5шт.

16

SBA011510835

BOLT

M8 x 35, FWD

1шт.

17

SBA011510845

BOLT

M8 x 45, FWD

1шт.

18

SBA064600016

PLUG

M16, FWD

1шт.

19

SBA025100016

WASHER,16.4mm ID x 27mm OD x 2mm Thk

Seal, FWD

1шт.

20

SBA322213470

COVER

Case, 2WD

1шт.

21

SBA322991201

GASKET

2WD

1шт.

22

SBA011510816

BOLT

M8 x 16, 2WD

7шт.

23

SBA399564790

PLATE

FWD

1шт.

24

SBA011510816

BOLT

M8 x 16, FWD

2шт.

25

SBA398510310

BUSHING

Sealing, 2WD

1шт.

26

SBA320171680

TUBE

Oil, FWD

1шт.

27

SBA322513680

DRIVEN SHAFT

FWD

1шт.

28

SBA378104180

GUARD

Upper, FWD

1шт.

29

SBA378115730

GUARD

Lower, FWD

1шт.

30

SBA011510812

CAPTIVE WASHER SCREW,Hex, M8 x 12, G5

FWD

1шт.

31

SBA322611200

COUPLING

FWD

2шт.

32

87307214

PIN

FWD

2шт.

33

SBA052300400

O-RING

FWD

2шт.

34

SBA320190610

HOLDER

FWD

1шт.

35

SBA011510820

CAPTIVE WASHER SCREW,Hex, M8 x 20, G5

FWD

1шт.

36

SBA050203125

SEAL

FWD

1шт.

37

279593

BALL BEARING,25mm ID x 47mm OD x 12mm W

FWD

1шт.

38

SBA322513690

PTO SHAFT

FWD

1шт.

39

SBA322342010

GEAR

Slide A, FWD

1шт.

40

279592

BALL BEARING,20mm ID x 47mm OD x 14mm W

FWD

1шт.

41

SBA324300690

ROD

Shift, FWD

1шт.

42

SBA052109076

O-RING,2.4mm Thk x 10.8mm ID

FWD

1шт.

43

SBA324411560

SHIFTER FORK

FWD

1шт.

44

SBA398210280

SPRING

FWD

1шт.

45

V34014

BALL

Steel, FWD

1шт.

46

SBA324202710

LIFT ARM

Shift, FWD

1шт.

47

SBA052100140

O-RING

FWD

1шт.

48

SBA324106810

LEVER

Change, FWD

1шт.

49

300868

ROLL PIN,6mm OD x 36mm L, Slotted

FWD

1шт.

50

SBA322051001

DRIVE PINION

Is Used With Ref. 3 thru 5 & 51

1шт.

Выбрано товаров: 51