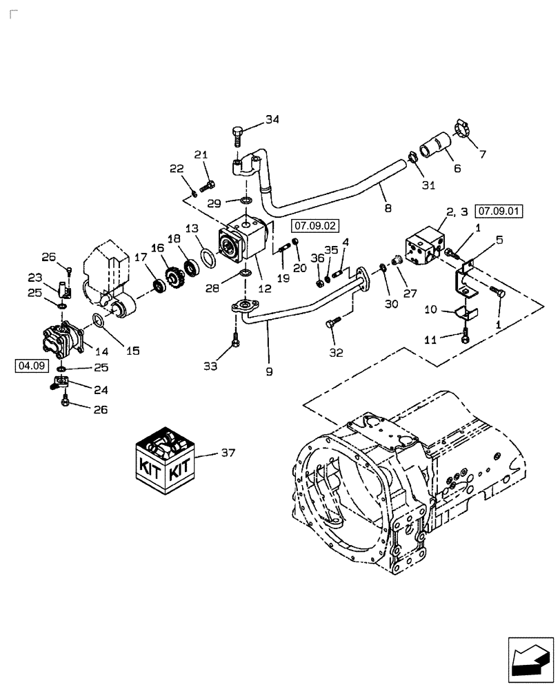
Запчасти Case IH FARMALL 45 (07.09) - HYD OIL PUMP & PIPING, POWER STEERING PUMP (07) - HYDRAULIC SYSTEM

Схема запчастей Case IH FARMALL 45 - (07.09) - HYD OIL PUMP & PIPING, POWER STEERING PUMP (07) - HYDRAULIC SYSTEM
27
18
12
28
29
26
2
3
13
25
37
32
20
21
23
15
24
34
22
19
5
8
4
36
26
1
33
31
07.09.02
7
10
07.09.01
04.09
35
25
14
9
1
30
6
17
11
16
FIT
1:1
100%

Артикул

Название

Примечание

Количество

1

SBA011510816

BOLT

M8 x 16

6шт.

2

SBA340016621

VALVE

Refer to Fig. 07.09.02 for Breakdown

1шт.

4

SBA012110825

BOLT

Stud

1шт.

5

SBA344912650

BRACKET

1шт.

6

SBA398120860

CONNECTION

1шт.

7

SBA398750450

BAND

Hose

1шт.

8

SBA340708150

RIGID TUBE

1шт.

9

SBA340708171

HYD TUBE

The 4-bolt flange tube will work in place of the 2-bolt flange tube by using two diaganol holes in the 4-bolt flange

1шт.

10

SBA399111510

CLAMP

1шт.

11

SBA011510845

BOLT

1шт.

12

SBA340450991

HYDRAULIC PUMP

3 Point

1шт.

SBA340450991R

REMAN-HYD PUMP

FARMALL 40, FARMALL 45, FARMALL 50 All 12X12 GEAR OR HST TRANSMISSION W/ROPS

1шт.

SBA340450991C

CORE-HYDRAULIC PUMP

Return Number

1шт.

13

SBA052310700

O-RING

1шт.

14

SBA340451020

HYDRAULIC PUMP

Power Steering, Ref. to Fig. 04.09 for details

1шт.

SBA340451020R

REMAN-HYD PUMP

FARMALL 40, FARMALL 45 BOTH 12X12 GEAR OR HST TRANSMISSION, FARMALL 50 ALL W/ROPS COMPACT TRACTOR

1шт.

SBA340451020C

CORE-HYDRAULIC PUMP

Return Number

1шт.

15

SBA052300600

O-RING,G60

1шт.

16

SBA340460240

GEAR

1шт.

17

SBA040106004

BALL BEARING

1шт.

18

279593

BALL BEARING,25mm ID x 47mm OD x 12mm W

1шт.

19

SBA012110865

STUD

2шт.

20

SBA021500008

NUT,M8

2шт.

21

300510

BOLT,Hex, M8 x 65mm, Cl 8.8

2шт.

22

E630153S71

LOCK WASHER,M8

Spring

2шт.

23

SBA340622510

FLANGE

1шт.

24

SBA340622240

FLANGE

1шт.

25

SBA052100200

O-RING,2.4mm Thk x 19.8mm ID, 70 Duro

2шт.

26

SBA011310625

CAPTIVE WASHER SCREW,Hex, M6 x 25, Cl 8.8

4шт.

27

SBA340520260

FILTER

1шт.

28

SBA052300250

O-RING

1шт.

29

SBA052300350

O-RING,3.1mm Thk x 34.4mm ID, 70 Duro

1шт.

30

SBA052100200

O-RING,2.4mm Thk x 19.8mm ID, 70 Duro

1шт.

31

SBA398750450

BAND

1шт.

32

SBA011510825

CAPTIVE WASHER SCREW,Hex, M8 x 25, G5

1шт.

33

SBA011511025

CAPTIVE WASHER SCREW,Hex, M10 x 25, G5

4шт.

34

SBA011511055

BOLT

2шт.

35

SBA026200008

WASHER

1шт.

36

SBA021500008

NUT,M8

1шт.

37

SBA340293698

SEAL KIT

Hydraulic Pump

1шт.

Выбрано товаров: 40