Запчасти Case IH FARMALL 45 (07.09.01) - MANIFOLD DIVERTER BLOCK (07) - HYDRAULIC SYSTEM

Схема запчастей Case IH FARMALL 45 - (07.09.01) - MANIFOLD DIVERTER BLOCK (07) - HYDRAULIC SYSTEM
3
4
10
12
5
18
7
6
16
8
17
7
14
19
21
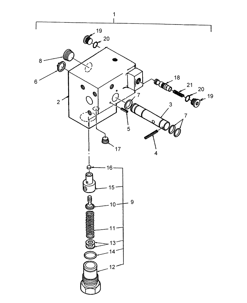
1
19
13
9
11
2
15
20
20
FIT
1:1
100%

Артикул

Название

Примечание

Количество

1

SBA340016621

VALVE

Block, Manifold Diverter, DX45 Includes: Ref. 2-21

1шт.

2

NSS

NOT SOLD SEPARAT

Body

1шт.

3

NSS

NOT SOLD SEPARAT

Spool

1шт.

4

SBA030300220

ROLL PIN

1шт.

5

SBA030300310

ROLL PIN

2шт.

6

SBA036100015

SNAP RING

1шт.

7

SBA052100110

O-RING,2.4mm Thk x 10.8mm ID

P10

3шт.

8

SBA064409005

PLUG,3/8"-18 NPTF

3шт.

9

SBA340293828

VALVE

Relief Valve, Includes: Ref. 10-16

1шт.

10

NSS

NOT SOLD SEPARAT

Poppet

1шт.

11

NSS

NOT SOLD SEPARAT

Spring

1шт.

12

NSS

NOT SOLD SEPARAT

Plug

1шт.

13

SBA340293789

SHIM KIT

1шт.

14

SBA052400180

O-RING

S18

1шт.

15

NSS

NOT SOLD SEPARAT

Housing

1шт.

16

SBA340293799

PLUG

1шт.

17

SBA064400010

PLUG

Pipe Thread, 1/8"

1шт.

18

NSS

NOT SOLD SEPARAT

Diverter Spool

1шт.

19

SBA340293827

PLUG

Plug G3/8

2шт.

20

SBA052110140

O-RING

1шт.

21

NSS

NOT SOLD SEPARAT

Spring

1шт.

Выбрано товаров: 21