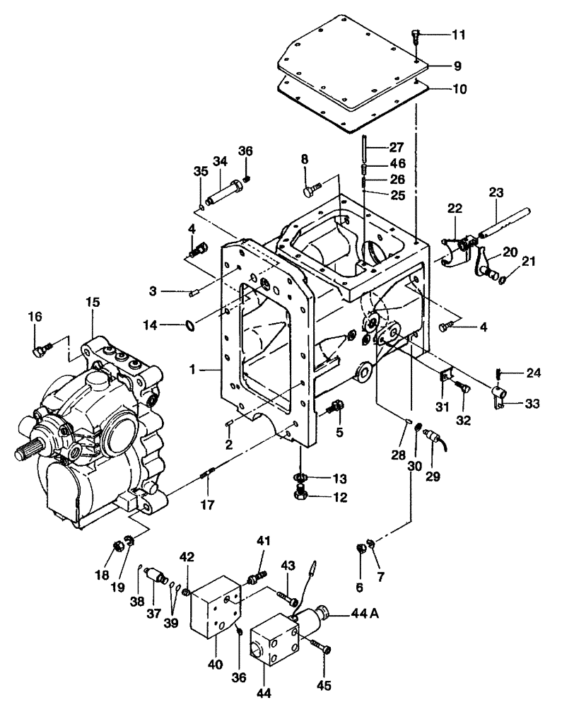
Запчасти Case IH FARMALL 45 (03.05) - FRONT TRANSMISSION CASE & SHIFTER, HST (03) - TRANSMISSION

Схема запчастей Case IH FARMALL 45 - (03.05) - FRONT TRANSMISSION CASE & SHIFTER, HST (03) - TRANSMISSION
36
3
16
24
14
30
41
29
38
2
23
21
1
7
46
5
27
17
6
10
45
33
31
15
37
44a
44
4
40
11
35
13
42
4
12
26
18
39
8
28
25
19
20
32
34
9
22
43
36
FIT
1:1
100%

Артикул

Название

Примечание

Количество

1

SBA322117521

CASE

Transmission

1шт.

1

SBA322117522

CASE

Transmission

1шт.

USED ON & ABOVE DRIVELINE 3M75607

1шт.

2

SBA030501025

BALL STUD,M10 x 25 L

BALL PIN

2шт.

3

SBA030500820

PIN

Dowel

2шт.

4

SBA011511235

BOLT,M12 x 35

9шт.

5

SBA011511240

BOLT,M12 x 40

4шт.

6

SBA021010012

NUT

M12

4шт.

7

412123

LOCK WASHER,13.1mm ID x 21.1mm OD x 2.55mm Thk

4шт.

8

SBA010109368

BOLT

M12 x 40

3шт.

9

SBA322213390

COVER

Case

1шт.

10

SBA322991171

GASKET

1шт.

11

SBA011510820

CAPTIVE WASHER SCREW,Hex, M8 x 20, G5

12шт.

12

SBA064600016

PLUG

M16

1шт.

13

SBA025100016

WASHER,16.4mm ID x 27mm OD x 2mm Thk

Seal

1шт.

14

SBA052100200

O-RING,2.4mm Thk x 19.8mm ID, 70 Duro

1шт.

15

SBA322800131

TRANSMISSION, HYDROS

Refer to Fig. 03.18 for Breakdown

1шт.

15

SBA322800132R

REMAN-TRANSMISSION

Remanufactured Hydrostatic Transmission

1шт.

15

SBA322800132C

CORE-TRANSMISSION

Return Number, Hydrostatic Transmission

1шт.

15

SBA322800131C

CORE-TRANSMISSION

Return Number, Hydrostatic Transmission

1шт.

15

SBA322800130C

CORE-TRANSMISSION

Return Number, Hydrostatic Transmission

1шт.

16

SBA011511260

BOLT

M12 x 60

2шт.

17

SBA012111255

BOLT

Stud

2шт.

18

SBA021010012

NUT

M12

2шт.

19

412123

LOCK WASHER,13.1mm ID x 21.1mm OD x 2.55mm Thk

2шт.

20

SBA324200620

ARM

Shift

1шт.

21

SBA052100140

O-RING

1шт.

22

SBA324412420

SHIFT, FORK

1шт.

23

SBA324313001

ROD

Shift

1шт.

24

300868

ROLL PIN,6mm OD x 36mm L, Slotted

M6 x 36

2шт.

25

V34014

BALL

Steel

1шт.

26

SBA398210460

SPRING

1шт.

26a

SBA398210880

SPRING

1шт.

Not Illustrated

1шт.

27

SBA399612001

PIN

1шт.

28

SBA324560050

PIN

1шт.

29

SBA385200730

SWITCH

Transmission Range Safety Switch

1шт.

30

SBA025100014

SEALING WASHER,14.4mm ID x 21mm OD x 2mm Thk

1шт.

31

SBA399564790

PLATE

1шт.

32

SBA011510816

BOLT

M8 x 16

1шт.

33

SBA324106830

LEVER

Change

1шт.

33

SBA324106831

LEVER

Change

1шт.

34

SBA340673560

ADAPTER

2шт.

35

SBA052110080

O-RING

2шт.

36

SBA064500010

PLUG

3шт.

37

SBA340673580

ADAPTER

2шт.

38

SBA052100090

O-RING

1шт.

39

SBA052100140

O-RING

2шт.

40

SBA340311011

BODY

Valve, Adapter Block

1шт.

Use (3) SBA052100090 O-Rings between Adapter Block and Solenoid

1шт.

41

SBA340672570

ADAPTER

1шт.

42

SBA340520260

FILTER

1шт.

43

SBA011510835

BOLT

M8 x 35

2шт.

44

SBA340015990

HYDRAULIC VALVE

Solenoid Includes: Ref. 44A

1шт.

Use (3) SBA052100090 O-Rings between Adapter Block and Solenoid

1шт.

44a

SBA340293823

SPECIAL NUT

M14 x 1.5

1шт.

45

SBA010700625

BOLT,M6 x 25

4шт.

46

SBA398215740

SPRING

1шт.

Выбрано товаров: 58