Запчасти Case IH FARMALL 45B CVT (35.300.AN[02]) - HYDRAULIC OIL PRESSURE SUCTION SYSTEM (35) - HYDRAULIC SYSTEMS

Схема запчастей Case IH FARMALL 45B CVT - (35.300.AN[02]) - HYDRAULIC OIL PRESSURE SUCTION SYSTEM (35) - HYDRAULIC SYSTEMS
15
4
23
11
20
3
19
1
24
5
7
22
15
15
20
21
6
13
15
18
17
12
16
14
8
10
2
9
FIT
1:1
100%

Артикул

Название

Примечание

Количество

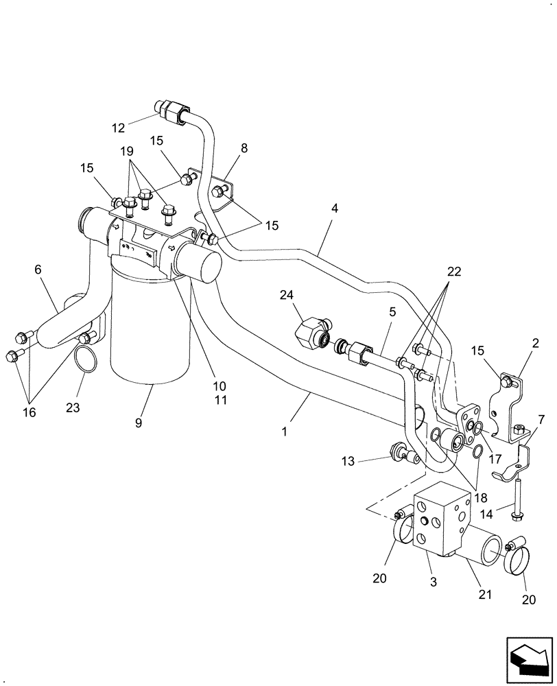
1

87586985

HYD TUBE

Suction Filter Outlet

1шт.

2

87471818

BRACKET

Diverter Valve Mounting

1шт.

3

SBA340016550

VALVE

Diverter

1шт.

4

87470599

HYD TUBE,12.58 mm ID x 15.88 mm OD x 641.2, 317.8 mm L

HPL Supply

1шт.

5

87470942

HYD TUBE,266.9, 58.8 mm L

Diverter Valve Return

1шт.

6

84143082

HYD TUBE

Filter Inlet Uses 84229821 Gasket.

1шт.

IF TRACTOR BUILT WITH GASKET REASSEMBLE WITH GASKET,IF TRACTOR BUILT WITH O-RING REASSEMBLE WITH O-RING REF. 23

1шт.

7

87351679

CLAMP

Front Suction Tube

1шт.

8

87470601

BRACKET

Suction Filter

1шт.

9

87673834

HYDRAULIC OIL FILTER

Suction

1шт.

10

87327193

FILTER HEAD

1шт.

11

87391845

SEAL

1шт.

12

86579679

HYD CONNECTOR,1"-14 ORFS x M18 x 1.5 ORB

1шт.

13

83922543

BANJO BOLT

1шт.

14

86511843

BOLT,Hex Flng, M8 x 1.25 x 60mm, Cl 8.8

1шт.

15

86511841

BOLT,Flng, M8 x 1.25 x 16mm, Full Thd, Cl 8.8

6шт.

16

9671714

FLANGE BOLT,Hex, M8 x 1.25 x 25mm, Cl 8.8

3шт.

17

70925929

O-RING,0.103" Thk x 0.688" ID, -115, Cl 8, 90 Duro

1шт.

18

83922401

O-RING,2.4mm Thk x 19.8mm ID, 70 Duro

2шт.

19

86531147

BOLT,Hex, M10 x 16mm, Cl 8.8, Full Thd

3шт.

20

86637709

HOSE CLAMP,44mm - 67mm

2шт.

21

87658062

HOSE,38.10 mm ID, SAE J30R6

Union

1шт.

22

9804258

BOLT,Hex, M8 x 1.25 x 20mm, Cl 8.8

3шт.

23

272470

O-RING,0.103" Thk x 1.549" ID, -129, Cl 5, 75 Duro

1шт.

24

86579693

ELBOW,90 Degree, 1"-14 ORFS x M18 x 1.5 ORB

1шт.

Выбрано товаров: 25