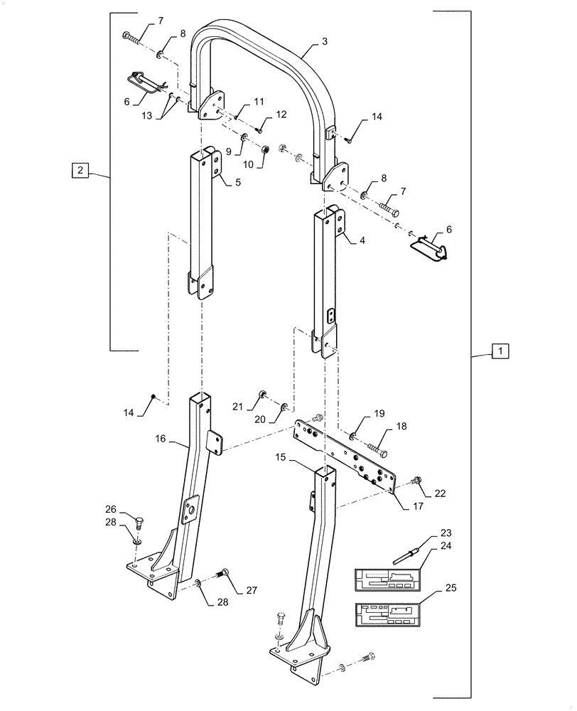
Запчасти Case IH FARMALL 45C (90.114.010) - FOLDABLE ROPS (90) - PLATFORM, CAB, BODYWORK AND DECALS

Схема запчастей Case IH FARMALL 45C - (90.114.010) - FOLDABLE ROPS (90) - PLATFORM, CAB, BODYWORK AND DECALS
16
14
6
13
4
10
19
8
12
27
15
11
7
24
25
5
9
6
20
3
18
1
7
28
23
26
28
17
14
22
2
8
21
FIT
1:1
100%

Артикул

Название

Примечание

Количество

1

MT20137516

ROPS

Incl 2 - 25

1шт.

2

MT40278128

ROPS

Assy Rear Upper

1шт.

3

MT40278129

ROPS

Rear Upper

1шт.

4

MT40278130

ROPS

Assy Rear Mid

1шт.

5

MT40285860

ROPS

RH Assy Rear Mid

1шт.

6

MT40233112

PIN,14mm ID x 80mm L

2шт.

7

MT40029407

BOLT,Hex, M14 x 2 x 90mm

2шт.

8

MT40029553

WASHER,14.20mm ID x 24.50mm OD x 3.50mm Thk

2шт.

9

MT40028160

WASHER,15mm ID x 24mm OD x 2.5mm Thk

2шт.

10

MT40028727

NUT,Hex, M14 x 2

2шт.

11

MT40028719

NUT,Hex, M6 x 1.0

2шт.

12

MT40029491

BOLT,Hex, M6 x 1.0 x 20mm

2шт.

13

MT40029201

O-RING,2.4mm Thk x 13.8mm ID

4шт.

14

MT40266803

PLUG,M8

6шт.

15

MT40278132

ROPS

LH Lower

1шт.

16

MT40278133

ROPS

RH Lower

1шт.

17

MT40281963

PLATE

1шт.

18

MT40029407

BOLT,Hex, M14 x 2 x 90mm

4шт.

19

MT40028160

WASHER,15mm ID x 24mm OD x 2.5mm Thk

4шт.

20

MT40029553

WASHER,14.20mm ID x 24.50mm OD x 3.50mm Thk

4шт.

21

MT40028727

NUT,Hex, M14 x 2

4шт.

22

MT40029010

BOLT,Hex, M8 x 1.25 x 35mm

4шт.

23

MT40029187

RIVET,3.2mm OD x 10mm L

2шт.

24

MT40293820

PLATE

NH - Name

1шт.

25

MT40293822

PLATE

CIH - Name

1шт.

26

MT40029396

BOLT,Hex, M14 x 2 x 35mm

8шт.

27

MT40237347

BOLT,M14 x 2 x 35mm L

4шт.

28

MT40029553

WASHER,14.20mm ID x 24.50mm OD x 3.50mm Thk

12шт.

Выбрано товаров: 28