Запчасти Case IH FARMALL 45C (55.000.AA[04]) - FUSE (55) - ELECTRICAL SYSTEMS

Схема запчастей Case IH FARMALL 45C - (55.000.AA[04]) - FUSE (55) - ELECTRICAL SYSTEMS
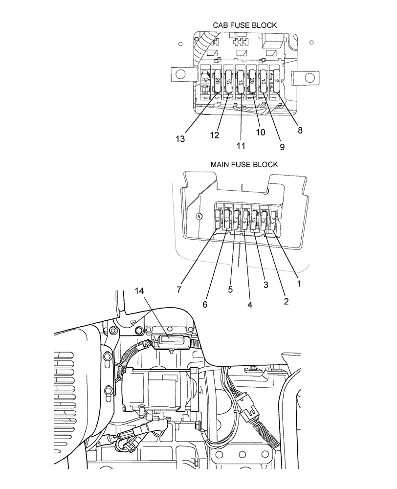
12
4
1
11
3
13
10
7
6
2
9
14
5
8
FIT
1:1
100%

Артикул

Название

Примечание

Количество

1

9623776

FUSE,7.5A, Micro, Brown

Glow Plugs, Alternator, Cab Power

1шт.

2

9623774

FUSE,15 Amp

Safety Start, Fuel Shutoff

1шт.

3

9623774

FUSE,15 Amp

Turn Signals

1шт.

4

9623774

FUSE,15 Amp

Work Lights, Headlights, Park Brake Alarm

1шт.

5

9623776

FUSE,7.5A, Micro, Brown

Instrument Panel, Cruise Control, Range High/Low

1шт.

6

9623774

FUSE,15 Amp

Hazard Lights, Front Work Lights, Radio, Cab Dome Light

1шт.

7

9623774

FUSE,15 Amp

Horn, Headlight High Beam, Park Brake Alarm

1шт.

8

87592017

FUSE

2 Amp Blade, Radio (Memory), Cab Dome Light

1шт.

9

9811773

FUSE,10A, Micro, Red

Radio (Functions)

1шт.

10

9804895

FUSE,20A, Micro, Yellow

HAVC

1шт.

11

9623774

FUSE,15 Amp

Beacon, Auxillary Power Socket

1шт.

12

9623774

FUSE,15 Amp

Front Wiper, Rear Wiper

1шт.

13

9804895

FUSE,20A, Micro, Yellow

Cab Work Lights

1шт.

14

338057A1

FUSE,50A, Maxival, Red

1шт.

Выбрано товаров: 14