Запчасти Case IH FARMALL 45C (21.504.AK[06]) - FRONT HOUSING 45HP & 50HP (21) - TRANSMISSION

Схема запчастей Case IH FARMALL 45C - (21.504.AK[06]) - FRONT HOUSING 45HP & 50HP (21) - TRANSMISSION
3
23
24
14
15
17
8
7
9
1
2
12
23
10
10
5
11
18
4
6
20
21
22
13
19
16
FIT
1:1
100%

Артикул

Название

Примечание

Количество

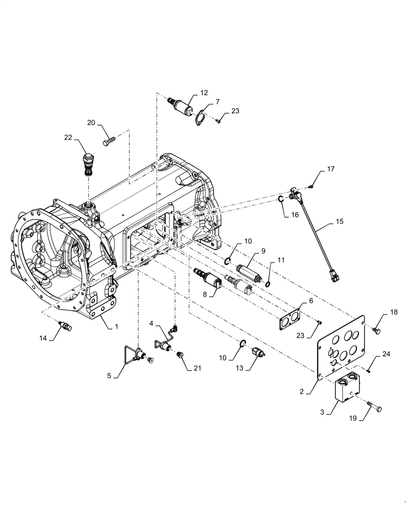
1

47499510

HOUSING

Transmission

1шт.

2

47361909

SHIELD

Solenoid Cover/ Hold Down

1шт.

3

87389351

VALVE

Oil Cooler Bypass

1шт.

4

47368624

HYD TUBE

Forward Diagnostic

1шт.

5

47368626

HYD TUBE

Reverse Diagnostic

1шт.

6

47368621

PLATE

Retainer

1шт.

7

47381782

PLATE

Valve Retainer

1шт.

8

87739558

SOLENOID VALVE,14W

Transmission, Forward/ Reverse

2шт.

9

47381778

ADAPTER

M18 x 1.5 x 1 -14 UNC

1шт.

10

87481362

O-RING,15.6MM ID x 1.78MM Width

2шт.

11

86598101

O-RING,2.2mm Thk x 15.3mm ID, Cl 6, 90 Duro

1шт.

12

87416918

SOLENOID

Dump Valve

1шт.

13

87384756

SWITCH ASSY

Transmission Pressure

1шт.

14

82028133

SENSOR,3/8"-18

Transmission Temperature

1шт.

15

84169162

SENSOR

CVT Shaft Speed

1шт.

16

129979

O-RING,0.103" Thk x 0.674" ID, -115, Cl 5, 75 Duro

1шт.

17

47481245

SCREW

Hex Socket, M6 x 14mm, Full Thread, Cl. 8.8

1шт.

18

300511

BOLT,Hex, M10 x 20mm, Cl 8.8

5шт.

19

528801860

SCREW,Hex, M10 x 55mm, Cl 8.8

1шт.

20

84238737

BOLT

Hex, M12 x 40mm, Full Thread, Cl. 10.9

12шт.

21

86598044

PLUG,Hex, M14 x 1.5 ORB

2шт.

22

87481352

VALVE PRESSURE RELIE

Transmission, 18 Bar

1шт.

23

87016470

HEX SOC SCREW,M6 x 1 x 10mm, Cl 8.8

8шт.

24

47481239

BOLT

Hex Socket, M4 x 10mm, Full Thread, Cl. 8.8

4шт.

Выбрано товаров: 24