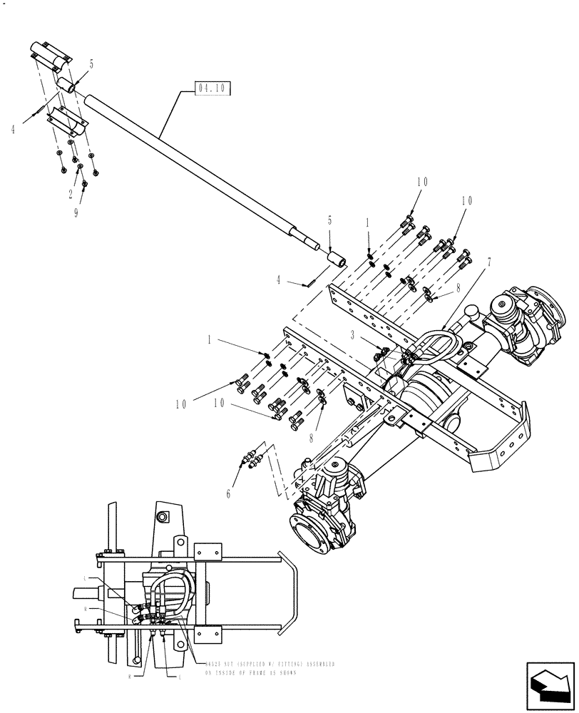
Запчасти Case IH FARMALL 50 (04.01) - FRONT AXLE, FWD (04) - FRONT AXLE & STEERING

Схема запчастей Case IH FARMALL 50 - (04.01) - FRONT AXLE, FWD (04) - FRONT AXLE & STEERING
2
4
04.10
86525 nut (supplied w/ fitting)
1
r
5
l
7
10
10
4
r
3
6
on inside of frame as shown
8
1
5
10
l
8
10
9
FIT
1:1
100%

Артикул

Название

Примечание

Количество

1

280248

LOCK WASHER,9/16"

10шт.

2

322358

BELLEVILLE WASHER,M8 Bolt Size x 18mm OD x 1.4mm Thk

4шт.

3

330346

45 ELBOW,45 Degree, 9/16"-18, 37 Degree x 9/16"-18, O-Ring

2шт.

4

SBA030309013

PIN

M6 x 32

2шт.

5

SBA322611200

COUPLING

2шт.

6

86400264

FITTING,9/16"-18 x M66.4 L

2шт.

7

86400298

HYDRAULIC HOSE,9.53 mm ID x 540.00 mm, SAE 100R17

Power Steering

2шт.

8

86400425

WASHER

8шт.

9

86511841

BOLT,Flng, M8 x 1.25 x 16mm, Full Thd, Cl 8.8

4шт.

10

86526912

BOLT,Hex, M14 x 1.5 x 40mm, Cl 10.9, Full Thd

18шт.

Выбрано товаров: 10