Запчасти Case IH FARMALL 50B (35.100.02) - HYDRAULIC HOUSING - NO LEVEL W/DRAFT (35) - HYDRAULIC SYSTEMS

Схема запчастей Case IH FARMALL 50B - (35.100.02) - HYDRAULIC HOUSING - NO LEVEL W/DRAFT (35) - HYDRAULIC SYSTEMS
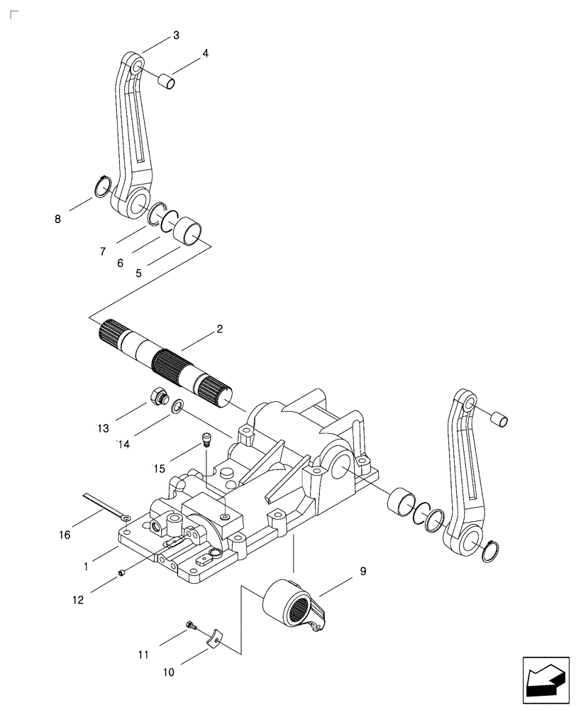
3
10
15
9
16
4
12
13
11
5
7
2
1
6
14
8
FIT
1:1
100%

Артикул

Название

Примечание

Количество

1

MT40010361

HOUSING

Hydraulic

1шт.

2

MT40008963

SHAFT,303mm L

Hydraulift Lift, 303L

1шт.

3

MT40009177

ARM

Lift

2шт.

4

MT40009651

BUSHING,19mm ID x 22mm OD x 25mm L

Lift Arm, OD22.0 x ID19.0 x 25.0L

2шт.

5

MT40009718

BUSHING,45mm ID x 55mm OD x 30mm L

Hydraulic Lift Shaft, OD55.0 x ID45.0 x 30.0L

2шт.

6

MT40029223

O-RING,3.1mm Thk x 44.4mm ID

D44.4 x W3.1

2шт.

7

MT40008343

COLLAR,45mm ID x 50mm OD x 14 Thk

OD50 x ID45 x 14T

2шт.

8

MT40029278

RING,M42

Snap D42

2шт.

9

MT40009179

POWER ARM

1шт.

10

MT40011870

PLATE,3.2mm Thk

Lock, 3.2T

1шт.

11

MT40028919

BOLT,Hex, M8 x 1.25 x 16mm, W/ Wshr

Hex., W/Washer, M8 x P1.25 x 16L

1шт.

12

MT40012845

PLUG,Tpr, 1/4" PT

Taper, PT1/4

1шт.

13

MT40009526

PLUG,M12 x 1.75 x 12mm

M12 x 1.75 x 12L

1шт.

14

MT40012552

SEAL,12.20mm ID x 19mm OD, 1.50mm Thk, Copper

Copper, OD19 x ID12.2 x 1.5T

1шт.

15

MT40009792

PLUG,9.50mm OD x 7.50mm L

Air Bent OD9.5 x 5L

1шт.

16

MT40012733

CLAMP,10mm W x 140mm L

10W x 140L

1шт.

Выбрано товаров: 16