Запчасти Case IH FARMALL 50C (10.110.AC[01]) - BALANCER, FARMALL 40C, 50C (10) - ENGINE

Схема запчастей Case IH FARMALL 50C - (10.110.AC[01]) - BALANCER, FARMALL 40C, 50C (10) - ENGINE
6
10
4
3
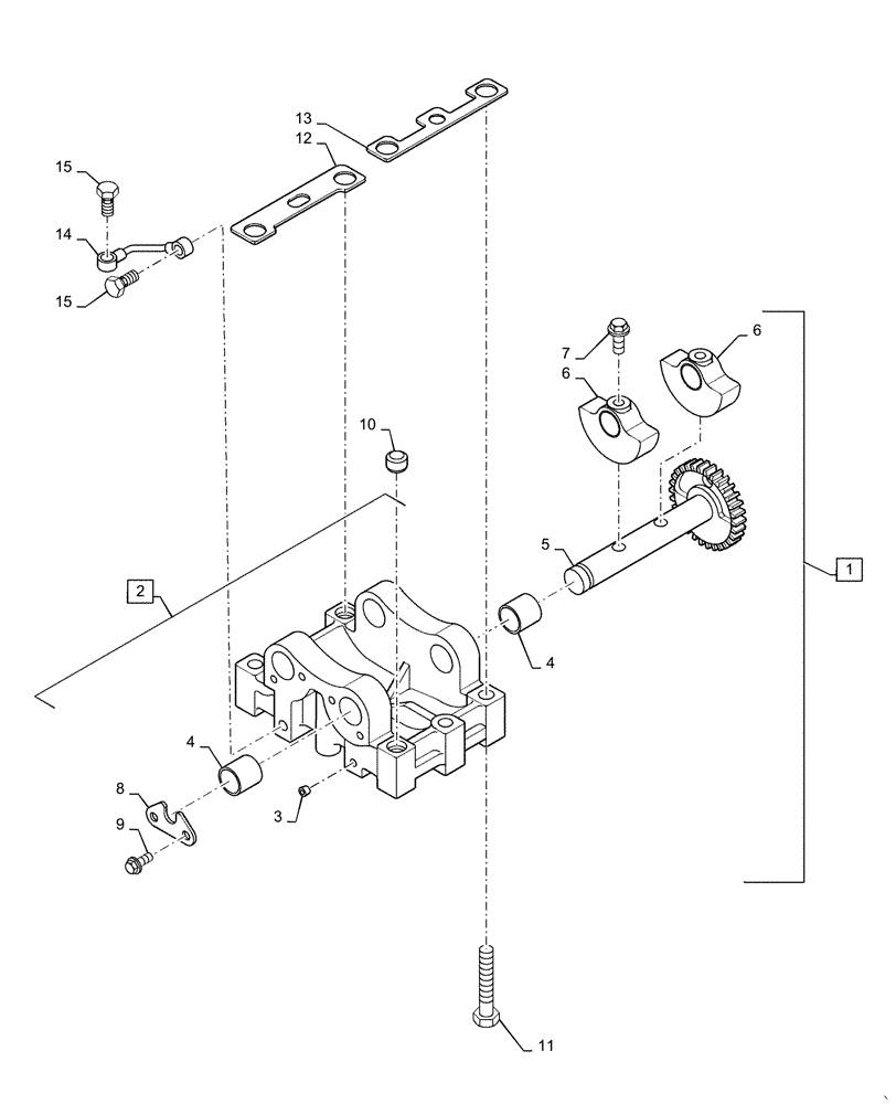
1
6
8
4
5
7
12
11
15
2
9
13
14
15
FIT
1:1
100%

Артикул

Название

Примечание

Количество

1

MT40283419

BALANCER

Assy, Incl 2 - 10

1шт.

2

MT40283425

HOUSING

Assy, Incl 3, 4

1шт.

3

MT40283474

PLUG

7шт.

4

MT40283488

BUSHING

Balancer

4шт.

5

MT40283427

SHAFT

2шт.

6

MT40283424

BALANCER

4шт.

7

MT40282979

BOLT

4шт.

8

MT40283505

PLATE

2шт.

9

MT40282969

BOLT

4шт.

10

MT40283221

PIN

Dowel

2шт.

11

MT40282956

BOLT

6шт.

12

MT40283500

SHIM

1шт.

13

MT40283501

SHIM

1шт.

14

MT40283383

PIPE

Oil

1шт.

15

MT40283480

BANJO BOLT

2шт.

Выбрано товаров: 15