Запчасти Case IH FARMALL 55 (10.10) - INTERIOR TRIM & POD TOPS (10) - OPERATORS PLATFORM/CAB

Схема запчастей Case IH FARMALL 55 - (10.10) - INTERIOR TRIM & POD TOPS (10) - OPERATORS PLATFORM/CAB
4
14
11
17
10
21
8
front view
7
5
13
12
16
2
19
20
6
3
18
1
9
top view
6
15
FIT
1:1
100%

Артикул

Название

Примечание

Количество

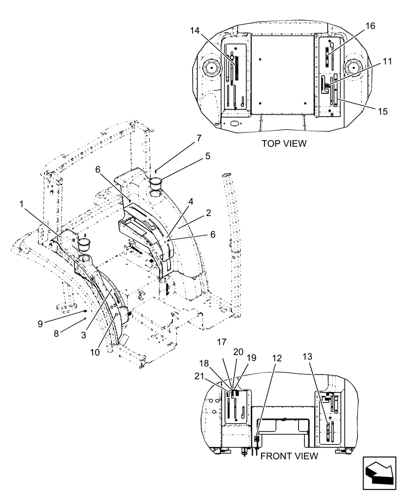
1

87676632

TRIM PANEL

PANEL, RH INTERIOR TRIM

1шт.

2

87676633

TRIM PANEL

PANEL, LH INTERIOR TRIM

1шт.

3

87676635

PLATE

COVER, RH POD TOP

1шт.

4

87676634

PLATE

COVER, LH POD TOP

1шт.

5

87403116

TRAY

CUP HOLDER

2шт.

6

412491

SCREW,Phillips Drive, Pan HD, M6 x 16mm, Cl 4.8

4шт.

7

86020047

SCREW,Phil Oval Hd, Csk, M6 x 25mm, Cl 4.8, Full Thd

2шт.

8

86546549

NUT

3шт.

9

86639315

WASHER,6.6mm ID x 18mm OD x 1.6mm Thk

2шт.

10

86535724

CLIP

3шт.

11

86521672

DECAL

Parking Brake

1шт.

12

86532901

DECAL

Differential Lock

1шт.

13

86400177

DECAL

MFD Engage Lever

1шт.

14

86567896

DECAL

HPL Lever Position

1шт.

15

87633291

DECAL

DECAL, Range Selector

1шт.

16

87301626

DECAL

Ind PTO

1шт.

17

86558917

STOP

HPL

1шт.

18

86508357

WASHER,.28" x .90" x .06" Thk, Nylon

Black

1шт.

19

76028

WASHER,9/32" x 1" x .06" Thk

1шт.

20

86506579

KNOB

HPL

1шт.

21

86546549

NUT

1шт.

Выбрано товаров: 21