Запчасти Case IH FARMALL 55 (01.09) - BALANCER (01) - ENGINE

Схема запчастей Case IH FARMALL 55 - (01.09) - BALANCER (01) - ENGINE
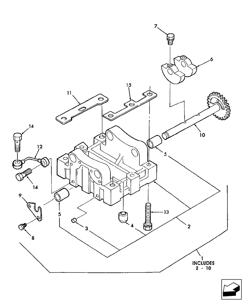
3
2
12
8
14
1
13
15
11
5
5
10
4
9
6
14
7
FIT
1:1
100%

Артикул

Название

Примечание

Количество

1

SBA165036160

COUNTERSHAFT

Balancer Assy

1шт.

2

SBA165326280

HOUSING

Complete

1шт.

3

SBA198466030

PLUG

Blank, 6.5 x 7mm

7шт.

4

SBA030509019

PIN

Dowel

2шт.

5

SBA198517480

BUSHING

4шт.

6

SBA165316210

WEIGHT

Balancer

4шт.

7

SBA011510820

CAPTIVE WASHER SCREW,Hex, M8 x 20, G5

4шт.

8

SBA011310612

CAPTIVE WASHER SCREW,Hex, M6 x 12, Cl 8.8

4шт.

9

SBA199566760

PLATE

2шт.

10

SBA165456180

SHAFT

Complete

2шт.

11

SBA199286320

SHIM

1шт.

12

SBA140607031

PIPE

Oil

1шт.

13

SBA011511070

BOLT,M10 x 70

6шт.

14

SBA198486780

BANJO BOLT

Eye

2шт.

15

SBA199286330

SHIM

1шт.

Выбрано товаров: 15