Запчасти Case IH FARMALL 55 (03.01.02) - PARKING BRAKE (03) - TRANSMISSION

Схема запчастей Case IH FARMALL 55 - (03.01.02) - PARKING BRAKE (03) - TRANSMISSION
12
11
10
19
10
2
15
16
23
12
18
3
18
24
15
21
11
26
14
25
21
11
19
16
24
13
19
19
19
9
1
4
12
16
12
17
23
6
8
11
10
15
5
7
10
22
20
14
14
FIT
1:1
100%

Артикул

Название

Примечание

Количество

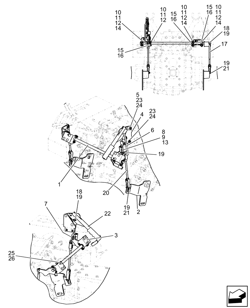
1

87648365

SHAFT

Cross

1шт.

2

86402728

LEVER

Brake, RH

2шт.

3

87626311

BRACKET

PARK BRAKE

2шт.

4

87675636

PLATE

HAND BRAKE

1шт.

5

86507486

CARRIAGE BOLT,M8 x 1.25 x 20mm, Cl 8.8

2шт.

6

87626310

LINKAGE

CONNECTING

1шт.

7

87626314

PLATE

PARK BRAKE SWITCH

1шт.

8

86400228

SWITCH

Plunger

1шт.

9

412064

BOLT,Hex, M4 x 16mm, Cl 8.8, Full Thd

2шт.

10

9804256

BOLT,Hex, M6 x 1 x 20mm, Full Thd, Cl 8.8

8шт.

11

322357

BELLEVILLE WASHER,M6 Bolt Size x 14mm OD x 1.3mm Thk

8шт.

12

353308

NUT,M6 x 1.0, Cl 8

8шт.

13

86403943

NUT

Nut

1шт.

14

87626312

PLATE

3шт.

15

9625659

BUSHING

BUSHING

4шт.

16

86401310

CIRCLIP

RING, LOCKING

4шт.

17

87676929

LINKAGE

RH

1шт.

18

140016

WASHER,M8 x 16mm OD x 1.6mm Thk

3шт.

19

280250

COTTER PIN,3/32" OD x 3/4" L

5шт.

20

87677002

LINKAGE

LH

1шт.

21

86530992

CLEVIS PIN,10mm OD x 29.1mm L

2шт.

22

86543759

HANDLE

W/Rachet

1шт.

23

322358

BELLEVILLE WASHER,M8 Bolt Size x 18mm OD x 1.4mm Thk

4шт.

24

9804277

FLANGE NUT,Hex, M8 x 1.25, Cl 8

4шт.

25

86629542

NUT,M8 x 1.25, Cl 8.8

6шт.

26

308761

CARRIAGE BOLT,M8 x 1.25 x 25mm, Cl 8.8

6шт.

Выбрано товаров: 26