Запчасти Case IH FARMALL 55 (05.01) - DIFFERENTIAL (05) - REAR AXLE

Схема запчастей Case IH FARMALL 55 - (05.01) - DIFFERENTIAL (05) - REAR AXLE
117
30
27
9
13
18
24
23
7
36
7
7
19
20
3
5
12
16
9
22
11
25
4
7
14
18
5
38
28
29
16
15
32
19
37
5
2
34
21
5
26
11
10
03.09
17
26
31
FIT
1:1
100%

Артикул

Название

Примечание

Количество

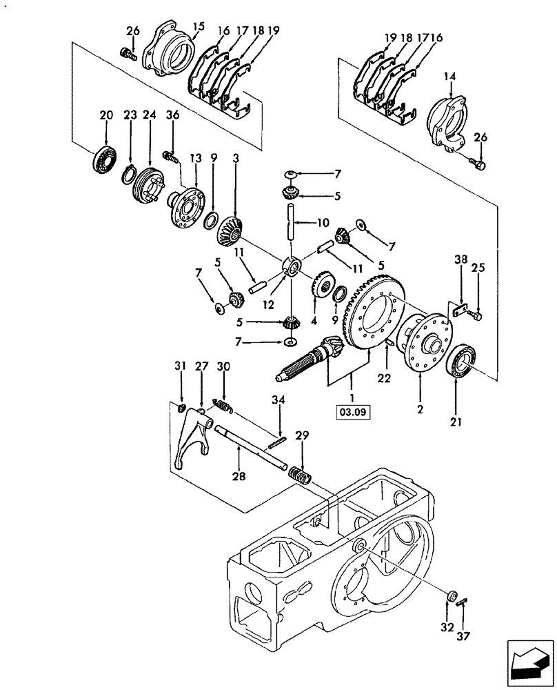
1

SBA322051310

DRIVE PINION

1шт.

2

SBA326110621

DIFFERENTIAL ASSY

1шт.

3

SBA326140310

GEAR

Differential, R.H.

1шт.

4

SBA326140320

GEAR

Differential, L.H.

1шт.

5

SBA326160190

PINION

4шт.

7

SBA399261410

THRUST WASHER

4шт.

9

SBA399261330

THRUST WASHER

2шт.

10

SBA326130690

SHAFT

Pinion

1шт.

11

SBA326130680

SHAFT

Pinion

2шт.

12

SBA326170090

UNIVERSAL JOINT

1шт.

13

SBA326110631

HOUSING

Differential

1шт.

14

SBA326220281

SUPPORT

Carrier, Bearing, L.H.

1шт.

15

SBA326220320

SUPPORT

Carrier, Bearing, R.H.

1шт.

16

SBA399280590

SHIM,0.1mm Thk

1шт.

17

SBA399280600

SHIM,0.3mm Thk

1шт.

18

SBA399280610

SHIM,0.5mm Thk

1шт.

19

SBA399280700

SHIM,0.05mm Thk

1шт.

20

SBA040156011

BEARING ASSY

1шт.

21

28996590

BALL BEARING

1шт.

22

SBA030501025

BALL STUD,M10 x 25 L

BALL PIN

1шт.

24

SBA326600120

CLUTCH

Differential Lock

1шт.

24

SBA326600150

CLUTCH

Differential Lock

1шт.

On & Above Driveline 4CE00006-FARMALL 55 SSS, 4CF00011-FARMALL 55 EHSS,4CG00026-FARMALL 60 SSS & 4CH00089-FARMALL 60 EHSS

1шт.

25

412161

BOLT,M10 x 1.25 x 40mm, Cl 8.8

12шт.

26

SBA011510825

CAPTIVE WASHER SCREW,Hex, M8 x 25, G5

8шт.

27

SBA326570370

FORK

Differential Lock

1шт.

28

SBA326530260

SHAFT

Differential Lock

1шт.

29

SBA398210210

SPRING

1шт.

30

SBA398212520

SPRING

1шт.

31

SBA052100140

O-RING

1шт.

32

SBA050203118

SEAL

Oil

1шт.

33

SBA030300632

SLOTTED PIN,M6 x 32

2шт.

34

SBA030300663

COILED PIN,M6 x 63

1шт.

36

N602550S36

BOLT

HH, W/Washer, CL 8.8, M8 x 1.25 x 25

8шт.

37

300869

LOCK PIN,6mm OD x 40mm L, Slotted

1шт.

Выбрано товаров: 35