Запчасти Case IH FARMALL 55 (07.04) - SSS & PTO PUMP & PIPING (07) - HYDRAULIC SYSTEM

Схема запчастей Case IH FARMALL 55 - (07.04) - SSS & PTO PUMP & PIPING (07) - HYDRAULIC SYSTEM
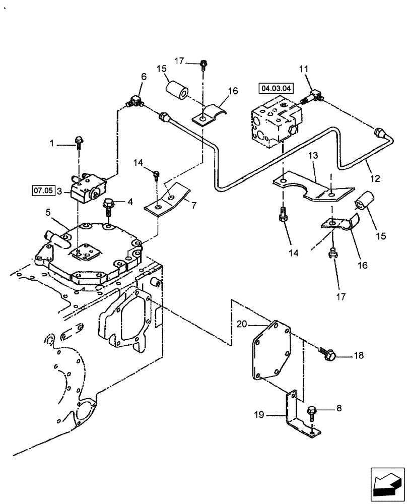
20
19
15
12
5
3
7
15
17
13
18
11
16
1
4
14
8
16
04.03.04
07.05
17
6
14
FIT
1:1
100%

Артикул

Название

Примечание

Количество

1

SBA011310645

CAPTIVE WASHER SCREW,Hex, M6 x 45, Cl 8.8

3шт.

3

SBA340016451

HYDRAULIC VALVE

Refer to Fig. 07.05 for Breakdown

1шт.

4

SBA011501030

BOLT

M10 x 30

10шт.

5

SBA322213730

COVER

1шт.

6

SBA340671580

ADAPTER

1шт.

7

SBA399113680

CLAMP

Bracket

1шт.

11

SBA340674050

ADAPTER

1шт.

12

SBA340550440

PIPE

Oil

1шт.

13

SBA344912860

BRACKET

1шт.

14

SBA011510820

CAPTIVE WASHER SCREW,Hex, M8 x 20, G5

2шт.

15

SBA198516390

RUBBER BUSHING

2шт.

16

SBA399112260

CLAMP

2шт.

17

SBA011310612

CAPTIVE WASHER SCREW,Hex, M6 x 12, Cl 8.8

2шт.

18

SBA011511020

BOLT,M10 x 20

6шт.

19

SBA344912870

BRACKET

1шт.

20

SBA322213850

PLATE

Cover

1шт.

Выбрано товаров: 16